789.86K
Категория:
Механика
Похожие презентации:
Устройство двигателей
Судовые устройства
Захватные устройства
Автосцепное устройство
Устройство автомобиля
Стартер. Устройство
Судовые устройства
Автосцепные устройства
Шлюпочное устройство
Карбюратор. Устройство
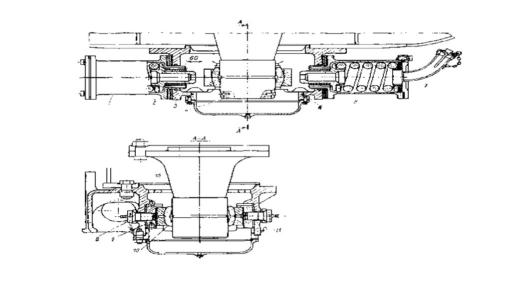
Шкворневое устройство
1.
Шкворневое устройство Арсенович В.В. T-22
English
Русский
Правила