2.28M

Подшипники скольжения

1.

Подшипники скольжения
1

2.

2

3.

3

4.

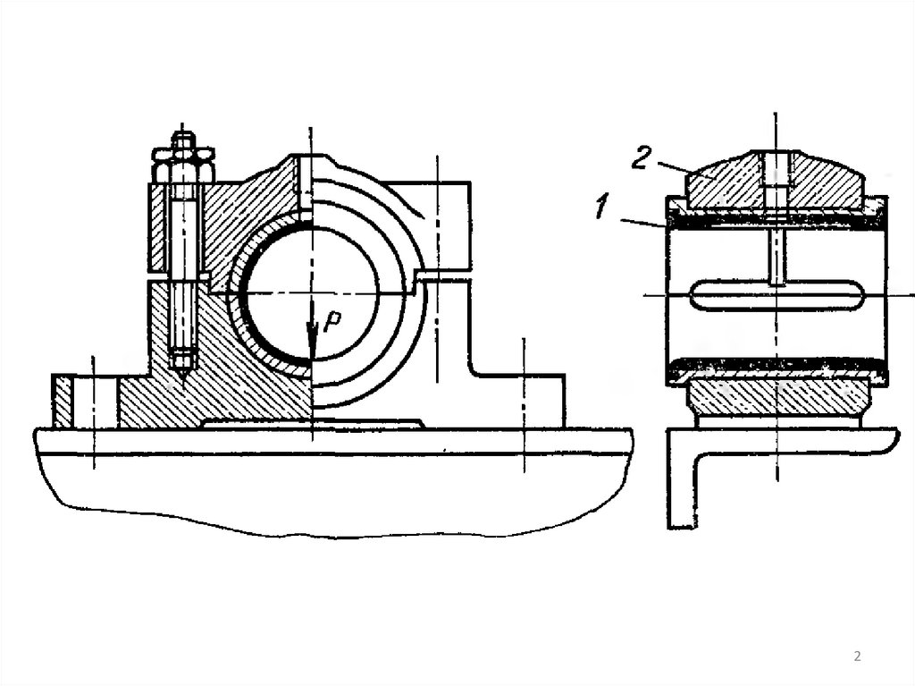
Подшипник для радиальной
нагрузки
4

5.

5

6.

6

7.

7

8.

Упорные подшипники
Со сплошной
пятой
С кольцевой
опорной
поверхностью
Гребенчатый
8

9.

9

10.

10

11.

11

12.

12

13.

13

14.

14

15.

Масленки подшипников скольжения
Поворотная
Фитильная
Пресс-масленка
Капельная
15

16.

16

17.

Регулирование зазора в целых
подшипниках
17

18.

18

19.

19
English     Русский Правила