Учебные вопросы:
1 учебный вопрос:
Пулемет ПКТ
Боевые свойства ПКТ
Пробивное действие пуль со стальным сердечником
Принцип действия ПКТ:
Общее устройство ПКТ:
Устройство и назначение составных частей пулемета ПКТ:
Снаружи ствол имеет:
Регулятор
Ствольная коробка служит для соединения частей и механизмов пулемета, для направления движения затворной рамы с затвором и для
Возвратно-боевая пружина с направляющим стержнем служит для возвращения затворной рамы с затвором в переднее положение и для
Электроспуск служит для дистанционного управления спусковым механизмом.
В комплект пулемета входят: коробки с лентами (1), принадлежность (2), ремень (3), чехол (4), запасной ствол (5), запасные
Принадлежность к пулемету
Боеприпасы, применяемые при стрельбе из пулемета ПКТ.
Приведение пулемета к нормальному бою.
2 учебный вопрос:
12,7-мм пулемет «Утес» (НСВ-12,7)
Боевые свойства:
Принцип действия автоматики пулемета.
Пулемет состоит из следующих основных частей и механизмов:
Пулемет состоит из следующих основных частей и механизмов:
Боеприпасы.
В комплект пулемета входят:
ЗИП пулемета предназначен
Комплект инструмента и принадлежности, придаваемый к пулемету, состоит:
- заводки для пружины (6) - служат для постановки пружины фиксирующих пальцев и пружины подающих пальцев, - подставная ось
Походное и боевое положение ЗПУ.
Зенитный прицел К10-Т
Оптическая система прицела
Правила стрельбы из ЗПУ.
3 учебный вопрос:
Чистка пулемета производится:
Чистятся и смазываются:
Для чистки и смазки пулеметов применяются:
34.90M
Категория: Военное делоВоенное дело

Тема 2н

1.

Учебная дисциплина:
«Устройство оружия и его
боевое применение»
Военно – учетная
специальность: ВУС 420100,
420200, 420300

2.

Танк Т-72 оснащен основным, дополнительным и
вспомогательным вооружением. В качестве основного
вооружения на танке установлена 125-мм гладкоствольная
пушка 2А46 (2А46М).
Пушка позволяет вести борьбу с танками и САУ, подавлять и
уничтожать огневые средства и живую силу.
Дополнительным вооружением танка является 7,62-мм пулемет
ПКТ, спаренный с пушкой, который предназначен для борьбы с
открыто расположенными огневыми средствами и живой силой
противника, для поражения которых мощь основного оружия является
излишней.
Пулемет наводится в цель с помощью тех же механизмов, что и
танковая пушка. Кроме того в качестве дополнительного вооружения
экипаж танка имеет 12,7-мм пулемет НСВТ, который установлен на
вращающейся командирской башенке. Пулемет предназначен для
стрельбы по воздушным и наземным целям.
Вспомогательное вооружение танка – это автомат АКС-74 и гранаты
Ф-1, предназначенные для обороны, а также система пуска дымовых
гранат 902Б «Туча», обеспечивающая повышение защищенности
машины.

3.

Тема № 2. «Устройство пулемета,
спаренного с пушкой. Устройство
зенитной установки».
Занятие № 1.
«Устройство пулемета,
спаренного с пушкой. Устройство
зенитной установки»

4.

Учебные и воспитательные цели:
1. Изучить назначение, боевые свойства и общее
устройство пулемета спаренного с пушкой и
зенитной установки. Устройство, работу частей и
механизмов пулемета спаренного с пушкой и
зенитной установки при заряжании, стрельбе и
прекращении стрельбы.
2. Изучить порядок проведения технического
обслуживания пулемета спаренного с пушкой и
зенитной установки, способы обнаружения и
устранения задержек и неисправностей при
стрельбе.
3. Воспитывать у студентов чувство уверенности в
надежности и эффективности
танкового
вооружения.

5. Учебные вопросы:

1. Устройство пулемета, спаренного с пушкой.
2. Устройство зенитной установки.
3. Техническое обслуживание пулеметов.

6. 1 учебный вопрос:

Устройство пулемета, спаренного с
пушкой.

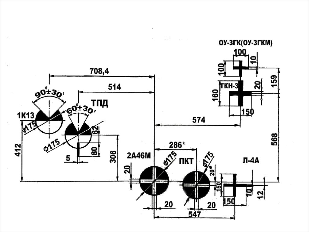
7. Пулемет ПКТ

Пулемет
Калашникова
танковый
калибра 7,62-мм, спаренный с пушкой,
предназначен для поражения открыто
расположенных
огневых
средств
противника и живой силы.

8.

Он установлен в башне на кронштейне,
прикрепленном к люльке и ограждению
пушки с правой стороны.
Пулемет наводится в цель с
помощью тех же механизмов или пульта
управления,
посредством
которых
наводится пушка.
Спусковой механизм работает от
электроспуска,
подключенного
к
бортовой сети машины.
Устройство электроспуска позволяет
вести огонь из пулемета и от ручного
спуска.

9.

10. Боевые свойства ПКТ

Калибр (мм)
Прицельная дальность ТПД-К1 (м)
Дальность прямого выстрела (м):
- по грудной мишени
- по бегущей мишени
Темп стрельбы (в/мин.)
Боевая скорострельность (в/мин.)
Начальная скорость пули (м/сек.)
Угол горизонт, обстрела (град.)
Дальность полета пули, до которой
сохраняется убойное действие (м)
Боекомплект (шт.)
Вес пулемета (кг)
Вес коробки с патронами (кг)
7,62
1800
440
670
700-800
до 250
855
360
3800
2000 шт. в 8
коробках
10,5
9,4

11. Пробивное действие пуль со стальным сердечником

1. Каска
2. Бронежилет
3. Бруствер из снега на 1000 м
4. Земляная преграда на 1000 м
5. Сухие сосновые брусья на 1200 м
6. Кирпичная кладка на 200 м
- 1770 м
- 1200 м
- 70 - 80 см
- 25 - 30 см
- 20 см
- 10 - 12см

12. Принцип действия ПКТ:

Автоматическое действие пулемета
основано на использовании энергии
пороховых газов, отводимых из канала
ствола к газовому поршню затворной
рамы.

13. Общее устройство ПКТ:

Пулемет состоит :
- ствол (1);
- ствольная коробка с
крышкой и основанием
приемника (2);
- затворная рама с
извлекателем и газовым
поршнем (3);
- затвор (4);
- возвратно-боевая
пружина с направляющим
стержнем (5);
- трубка газового поршня (6);
- спусковой механизм (7);
- электроспуск (8).

14. Устройство и назначение составных частей пулемета ПКТ:

СТВОЛ служит для направления полета пули.
Внутри
ствол имеет канал с четырьмя нарезами,
вьющимися слева вверх направо. Нарезы служат для
придания пуле вращательного движения. Промежутки между
нарезами называются полями. Расстояние между двумя
противоположными полями по диаметру называется
калибром канала ствола.
В казенной части канал ствола гладкий и сделан по
форме гильзы, эта часть канала ствола служит для
помещения патрона и называется патронником.

15. Снаружи ствол имеет:

- резьбу на дульной части для пламегасителя или втулки при
стрельбе холостыми патронами; - основание фиксатора
пламегасителя; - газовую камеру; - обойму с рукояткой пулемета;
- два поперечных выреза для замыкателя ствола.
В стенке ствола имеется отверстие для отвода пороховых
газов из канала ствола в газовую камеру.
Пламегаситель служит для уменьшения блеска
пламени при стрельбе. Впереди он имеет два отверстия
для навинчивания пламегасителя
на ствол и свинчивания его
со ствола с помощью выколотки,
сзади - 8 выемок для фиксатора.

16. Регулятор

Служит
для
регулирования
количества
пороховых газов, действующих на поршень
затворной рамы. Регулятор ПКТ имеет три канавки
различной глубины для отвода пороховых газов из канала
ствола в патрубок газовой камеры. После производства 3000
выстрелов стрельба из пулемета ведется при установке
регулятора на деление 2. При неполном отходе затворной
рамы регулятор устанавливают на деление 3, так же
регулятор устанавливают
на деление 3 при низких
температурах воздуха, дожде, снеге,
сильной запыленности или при
сильном износе подвижных частей.

17. Ствольная коробка служит для соединения частей и механизмов пулемета, для направления движения затворной рамы с затвором и для

обеспечения закрывания канала ствола
затвором и запирания затвора, сверху она закрывается крышкой.
Затворная рама с газовым поршнем
служит для приведения в действие затвора и подавателя для
извлечения патрона из ленты..

18. Возвратно-боевая пружина с направляющим стержнем служит для возвращения затворной рамы с затвором в переднее положение и для

Затвор служит для досылания патрона
в патронник, закрывания канала ствола,
разбития капсюля и извлечения из
патронника гильзы.
Возвратно-боевая
пружина
с
направляющим
стержнем служит для возвращения затворной рамы с затвором
в переднее положение и для сообщения
ударнику энергии,
необходимой
для
разбивания
капсюля
патрона.
Трубка газового поршня служит для направления движения
затворной рамы с газовым поршнем.

19. Электроспуск служит для дистанционного управления спусковым механизмом.

Спусковой механизм служит для удержания затворной рамы на
боевом взводе, спуска ее с боевого взвода и постановки пулемета на
предохранитель. Спусковой механизм собран в пусковой коробке и в
корпусе электроспуска.
Электроспуск служит для дистанционного управления
спусковым механизмом.

20. В комплект пулемета входят: коробки с лентами (1), принадлежность (2), ремень (3), чехол (4), запасной ствол (5), запасные

части.

21. Принадлежность к пулемету

Принадлежность служит для разборки, сборки, чистки и
смазки пулемета.
К принадлежности относятся:
- шомпол (1);
- протирка (2);
- ершик (3);
- отвертка (4);
- выколотка (5);
- пенал (6);
- извлекатель (7);
- масленка (8).
Дополнительно в ЗИПе пулемета укладывается:
- рамка для стрельбы холостыми патронами (9);
- втулка для стрельбы холостыми патронами (10).

22.

Установка спаренного пулемета состоит из:
- передней стойки (1);
- переднего ползуна (2);
- рамки (3);
- заднего ползуна (4);
- задней стойки (5);
- горизонтального винта (6);
- уплотнения амбразуры с
газоотводом (7).

23.

- верхнего улавливателя (8);
- направляющего лотка (9);
- кронштейна (10);
- нижнего улавливателя (11).

24. Боеприпасы, применяемые при стрельбе из пулемета ПКТ.

Для стрельбы из пулемета применяются
патроны обр. 1943 года:
- с обыкновенными (1);
- трассирующими (2);
- бронебойно-зажигательными
пулями (3).
7,62-мм боевой патрон состоит:
- пуля;
- гильза;
- пороховой заряд;
- капсюль.

25.

Для отличия патронов головные части пуль имеют
различную окраску.
Обыкновенные пули предназначены для поражения живой
силы
противника,
расположенной
открыто
и
за
масками,
пробиваемыми пулей.
Легкая пуля обр. 1908 г. состоит из стальной плакированной томпаком
оболочки и сердечника (сплав свинца с сурьмой), впрессованного в
оболочку. Отличительной окраски эта пуля не имеет.
1
Пуля со стальным сердечником состоит из стальной плакированной
томпаком оболочки, свинцовой рубашки и стального сердечника.
Головная часть пули окрашена в серебристый цвет.
1

26.

Трассирующая
пуля
предназначена
для
целеуказания
и
корректирования огня на расстояниях до 1000 м, а также для
поражения живой силы противника.
Она состоит из оболочки, свинцового сердечника и стаканчика с
запрессованным трассирующим составом.
2
При выстреле горение от порохового заряда передается
трассирующему составу, который, сгорая при полете пули, дает яркий
светящийся след, хорошо видимый днем и ночью.
Головная часть пули окрашена в зеленый цвет.
Бронебойно-зажигательная пуля предназначена для зажигания
горючих жидкостей и для поражения живой силы противника,
находящейся за легкими броневыми прикрытиями, на дальностях до
500 м.

27.

Она состоит из оболочки, стального сердечника, свинцовой рубашки и
зажигательного состава.
При ударе пули о броню зажигательный состав воспламеняется и
пламя через отверстие в броне, пробитое стальным сердечником пули,
воспламеняет горючую жидкость.
3
Головная часть пули окрашена в черный цвет с красным пояском.
Гильза служит для помещения порохового заряда и соединения всех
частей патрона.
Она имеет корпус для помещения порохового заряда, дульце для
закрепления пули и дно с закраиной для захвата гильзы зацепом
выбрасывателя и зацепами извлекателя. В дне гильзы имеются гнездо
для капсюля, наковальня, на которой капсюль разбивается бойком
ударника, и два затравочных отверстия, через которые проникает
пламя от капсюля к пороховому заряду.
Капсюль служит для воспламенения порохового заряда. Он состоит
из латунного колпачка, ударного состава и фольгового кружка,
прикрывающего ударный состав.
Пороховой заряд наполняет корпус гильзы и служит для приведения
пули в движение энергией газов, образующихся при его сгорании.

28.

29. Приведение пулемета к нормальному бою.

Пулемет ПКТ, поступающий с машиной в войсковые части,
приведен к нормальному бою стрельбой из машины.
Координаты пристрелки пулемета внесены в контрольновыверочную карточку, вклеенную в формуляр машины.

30.

Приведение пулемета к нормальному бою в войсковых частях
производится в случаях:
- установки нового пулемета в машину;
- ремонта пулемета, замены частей пулемета и установки, в
результате которой может измениться бой пулемета (например,
после замены ствола, разборки спаренной установки и т.п.);
- обнаружения во время стрельбы чрезмерных отклонений пуль.
Пулемет считается приведенным к нормальному бою, если
средняя точка попаданий (СТП) 10 автоматических выстрелов
находится в пределах прямоугольника размером 11х13 см,
нанесенного на мишени, и при этом не менее 8 пробоин вмещаются
в прямоугольник размером 14х16 см, произвольно накладываемый
на пробоины.
Если СТП находится за пределами прямоугольника 11х13 см,
необходимо замерить величину отклонения СТП от контрольной
точки (центра прямоугольника 11x13 см) и с помощью выверочного
механизма откорректировать положение пулемета.

31.

При отсутствии условий для приведения пулемета к
нормальному бою стрельбой следует проверить правильность
выставки пулемета по контрольной мишени.
Для этого необходимо:
- на расстоянии 25 м от дульного среза пушки установить щит с
контрольной мишенью, построенной в соответствии с данными
контрольно-выверочной карточки;
- установить переключатель баллистик в положение БР., а по
шкале дальности прицела дальность 0;
- с помощью ручных механизмов наведения совместить
центральную марку прицела с соответствующим знаком на
мишени;
- визируя через ТХП, вставленную в ствол ПКТ, проверить
совмещение оси канала ствола пулемета с перекрестием,
нанесенным на контрольной мишени, по координатам,
записанным в карточке контрольно - выверочных координат
для данного пулемета.

32.

33.

34. 2 учебный вопрос:

Устройство зенитной установки.

35. 12,7-мм пулемет «Утес» (НСВ-12,7)

Является мощным автоматическим оружием и
предназначен для борьбы с легкобронированными
целями и огневыми средствами, для уничтожения
живой силы противника и поражения воздушных
целей.

36. Боевые свойства:

- Калибр
12,7 мм
- Начальная скорость пули
845м/сек.
- Прицельная дальность стрельбы
2000 м
- Предельная дальность полета пули
6000 м
- Прицельная дальность стрельбы:
по воздушным целям 1500 м, по наземным целям 2000 м
- Боевая скорострельность
80 - 100 выстрелов/мин.
- Боекомплект 300шт.
- Дальность действительного огня:
по легкобронированным целям
500 м
по небронированным 2000 м
- Емкость ленты (Т-72)
60 шт.
- Вес коробки с патронами
13 кг
- Вес пулемета
25 кг

37. Принцип действия автоматики пулемета.


Действие
автоматики
пулемета
основано
на
использовании энергии пороховых газов, отводимых через
отверстие в стенке ствола к газовому поршню затворной
рамы. Откат подвижных частей при выстреле происходит
под давлением пороховых газов на поршень, связанный с
затворной рамой.
Запирание канала ствола – клиновое с помощью
горизонтально перемещающегося затвора, соединенного
двумя серьгами с затворной рамой.
Подача патронов на приемное окно и съем звена ленты
с патрона осуществляется при откате, а досылается патрон
в патронник при накате подвижных частей.

38. Пулемет состоит из следующих основных частей и механизмов:

• ствола;
• ствольной коробки;
• затворной рамы с затвором;
• возвратного механизма с буферным
устройством;
• приемника;
• спускового механизма;
• рукоятки перезаряжания.

39. Пулемет состоит из следующих основных частей и механизмов:

ствола (1), ствольной коробки (2), затворной рамы с затвором (3),
возвратного механизма (4), лотка (5), крышки приемника (6),
спускового механизма (7), мушки (8), прицела (9), рукоятки
перезаряжания (10), чеки спускового механизма (11), газового
цилиндра (12), отражателя (13), электроспуска (14).

40.

Для стрельбы из пулемета применяются 12,7-мм
патроны с пулями Б-32, БЗТ-44 и МДЗ. Стрельба
патронами,
имеющими
различные
пули,
производится при одних и тех же установках
прицела.
Стрельба из пулемета ведется короткими
очередями (4-6 выстрелов), длинными (10-15
выстрелов) и непрерывно. Питание пулемета
патронами производится из металлической ленты,
которая укладывается в коробку. Пулеметы могут
иметь правое или левое питание. Пулеметы с
правым или левым питанием по своему
устройству одинаковы и отличаются только
деталями механизма подачи ленты.
Охлаждение ствола воздушное. Непрерывное
ведение огня допускается до 100 выстрелов, после
чего нагретый ствол должен быть охлажден или
заменен запасным.

41. Боеприпасы.

При стрельбе из пулемета применяются 12,7-мм
патроны:
- с бронебойно-зажигательной пулей Б-32;
- с бронебойно-зажигательной трассирующей пулей
БЗТ-44;
- с зажигательной пулей МДЗ.

42. В комплект пулемета входят:

- оптический прицел;
- металлические коробки с лентами;
- ЗИП и чехлы.

43. ЗИП пулемета предназначен

для
замены
неисправных
деталей,
разборки, чистки и смазки пулемета.
Он подразделяется на индивидуальный и
групповой комплекты.
Индивидуальный комплект придается
каждому пулемету и предназначен для
текущего
обслуживания
пулемета.
Он
укладывается в сумку, которая хранится в
ящике пулемета.
Групповой комплект
предназначен для проведения технического
обслуживания № 1 и 2, среднего ремонта и
пополнения индивидуального комплекта.

44. Комплект инструмента и принадлежности, придаваемый к пулемету, состоит:

- шомпол;
- ключ-отвертка;
- молоток;
- заводки;
- выколотки;
- прочистка;
- подставная
ось;
- масленка;
- ершик.

45. - заводки для пружины (6) - служат для постановки пружины фиксирующих пальцев и пружины подающих пальцев, - подставная ось

подающих пальцев (7) - служит для присоединения подающих пальцев
к движку и крепления их основной осью,
- прочистка для регулятора (8) - чистки газового регулятора,
- выколотка диаметром 10мм (9) - служит для выбивания газового регулятора при разборке и
прочистке поршня;
- выколотка диаметром 4 мм (10) - служит для выбивания осей и штифтов при разборке и сборке
пулемета;
- выколотка малая диаметром 2 мм(11) - служит для выбивания осей и штифтов при разборке и
сборке пулемета;
- прочистка для поршня (12) - служит для чистки поршня.

46.

На танке на командирской башенке
устанавливается специальная зенитная
установка ЗУ-72, которая предназначена
для ведения стрельбы из пулемета
НСВТ по воздушным и наземным целям .
Зенитная установка обеспечивает
круговой обстрел при вертикальных
углах наведения пулемета от -5° до +75°
на
дальностях:
- по воздушным целям - до 1500 м
- по наземным целям - до 2000 м

47.

Установка ЗУ-72 состоит:
12,7-мм пулемет (1), люлька (2) с противооткатным устройством
(П), зенитный прицел К10-Т (3), вилка (4), рукоятка
горизонтального наведения (5), рукоятка
вертикального
наведения (6), магазин для размещения ленты с патронами (7),
лентосборник (8), уравновешивающий механизм (9).
8
П
3
5
1
2
9
4
6
7

48.

3
4
5
6
П
2
9

49. Походное и боевое положение ЗПУ.

Зенитная установка может находиться в
одном из двух положений: боевом или
походном.
В
боевом
положении
установка
повернута вперед и расчехлена, магазин
установлен, лента заложена в приемник,
люлька
расстопорена,
предохранитель
поставлен в положение «ОГ».
В походном положении предохранитель
поставлен в положение «ПР», установка
повернута назад, люлька застопорена,
магазин снят, установка зачехлена.

50. Зенитный прицел К10-Т

Предназначен для стрельбы по воздушным
целям. Состоит из:
- корпуса; - светофильтра; - оптической системы.
1 – рычаг переключения светофильтра; 2 – светофильтр;
3 – оптическая система; 4 – корпус.

51.

Установка зенитного прицела:
1 - коробка; 2 - крышка коробки; 3 - прицел К10-Т;
4 - уплотнение крышки; 5 - накидка ложа прицела; 6 болт выверки прицела по горизонтали; 7 - болт выверки
прицела по горизонтали; 8 - хомутик фиксации прицела
от проворота.

52.

Корпус
прицела
имеет
круговую
проточку для крепления в коробке и проточку
для крепления патрона подсветки.
Светофильтр установлен на корпусе
прицела и может принимать два положения:
- вертикальное,
- горизонтальное.
Установка светофильтра в одно из этих
положений
определяется
яркостью
освещения цели и производится рычагом
переключения светофильтра.

53. Оптическая система прицела

Состоит из:
- светофильтра (3);
- отражателя (4);
- объектива (5);
- зеркала (6);
- сетки (7).

54.

Сетка
состоит
из
делениями и двух колец.
перекрестия
с
Свет от цели падает на сетку прицела. Зеркало,
объектив и отражатель направляют изображение сетки в
сторону глаза стреляющего. Стреляющему изображение
сетки кажется вынесенным вперед, т. е. в ту сторону,
откуда в дневное время освещается сетка.
При стрельбе по цели,
находящейся на ярко
освещенном фоне,
применяется откидной
светофильтр. Во всех
других случаях стрельбы
светофильтр отключается.
Цена делений на перекрестии:
- малого — 0-10,
- большого — 0-20.

55. Правила стрельбы из ЗПУ.

При стрельбе по воздушным целям (самолетам, вертолетам и
т.д.), необходимо удерживать цель в поле зрения прицела так,
чтобы движение цели было направлено к перекрестию. Кольца
прицела рассчитаны на стрельбу с дистанции 400 м. по целям,
имеющим скорость полета 400 км/час; большое кольцо - при
ракурсе цели 3/4, малое 2/4.
Ракурсом цели - называется отношение длины фюзеляжа
цели,
видимой наблюдателем, к его истинной длине и
выражается простой дробью (1/4, 2/4, 3/4, 4/4).
При стрельбе по целям, имеющим скорости больше или
меньше 400 км/час, или на расстояниях отличных от 400 м,
поправка берется ориентировочно по кольцам; при большей
скорости и дальности во внешнюю сторону колец, при меньших
- во внутреннюю.
Для
точности
наводки
глаз
стреляющего
должен
располагаться на расстоянии 165 - 250 мм от прицела. Наведя
пулемет на цель, стреляющий нажимает на клавишу спуска и
ведет стрельбу очередями по 8-10 выстрелов, наблюдает за
результатами стрельбы и корректирует наводку по трассе
полета пуль.

56. 3 учебный вопрос:

Техническое
обслуживание пулеметов.

57.

Пулеметы должны всегда содержаться в полной
исправности и быть готовыми к действию. Это
достигается своевременной и умелой чисткой и
смазкой, правильным хранением пулеметов,
бережным обращением с ними и своевременным
устранением поломок и повреждений, а также
проведением технического обслуживания.
При контрольном осмотре проверить:
- наличие и крепление защитных чехлов;
- укладку и исправность крепления боекомплекта.
При текущем обслуживании проверить:
- исправность электроспуска пулемета;
- состояние канала ствола пулемета; при
необходимости произвести чистку и смазку.

58. Чистка пулемета производится:

- после стрельбы боевыми и холостыми
патронами;
- после наряда и занятий в поле без
стрельбы;
- в боевой обстановке и на учениях –
ежедневно в период затишья боя и во
время перерывов учений.
- затем производится чистка пулемета по
возвращении со
стрельбы и в течение
последующих трех-четырех дней ежедневно;
Если пулемет не применяется – не менее
одного раза в неделю. После чистки пулемет
необходимо смазать.

59. Чистятся и смазываются:

- ствольная коробка;
- канал ствола;
- газовая камера;
- затворная рама с газовым поршнем и затвор.
Чистку пулемета производить в следующем
порядке:
- подготовить материал для чистки и смазки;
- разобрать пулемет;
- осмотреть принадлежность и подготовить ее;
- прочистить канал ствола;
- канал ствола чистить шомполом со стороны
патронника.

60. Для чистки и смазки пулеметов применяются:

- жидкая ружейная смазка — для чистки пулемета и
смазывания его частей и механизмов при температуре
воздуха от +5 до -50° С;
- ружейная смазка — для смазывания канала ствола,
частей и механизмов пулемета после их чистки; эта
смазка применяется при температуре воздуха выше
+5° С;
- раствор РЧС (раствор чистки стволов) — для чистки
каналов
стволов
и
других
частей
пулемета,
подвергшихся воздействию пороховых газов;
- ветошь или бумага КВ-22 - для обтирания, чистки и
смазки пулемета;
- пакля (короткое льноволокно), очищенная от кострики,
- только для чистки канала ствола.
Для удобства чистки пазов, вырезов и отверстий
можно применять деревянные палочки.
Применение ружейной смазки при температуре воздуха
+5° С и ниже вместо жидкой ружейной смазки
категорически ЗАПРЕЩАЕТСЯ.

61.

Тема № 2: «Устройство пулемета, спаренного с пушкой. Устройство
зенитной установки».
Занятие №1: «Устройство пулемета, спаренного с пушкой.
Устройство зенитной установки».
Задание на самостоятельную подготовку:
Повторить устройство ПКТ и ЗУ, изучить задержки, возникающие при
стрельбе из ПКТ И НСВТ, техническое обслуживание пулеметов.
Литература::
1.Танк Т-72А. Техническое описание и инструкция по эксплуатации / под ред.
И. М. Голощапова, кн.2., ч.1 – М.: Воениздат, 1986. с. 77-89, 190-204.
2.Наставление по стрелковому делу. 7,62-мм пулемёт Калашникова (ПК,
ПКС, ПКБ и ПКТ) – М.: Воениздат, 1969. с. 3-21; 33-65; 79-115; 129-132; 141145.
3.Руководство по 12,7-мм пулемету «Утес» (НСВ-12,7) – М.: Воениздат, 1978.
с. 3-17; 35-56; 70-75; 77-107; 131-139.
4.Устройство оружия и его боевое применение: учебник: в 2 ч. 2 ч. / И.Ю.
Лепешинский [и др.]. – Омск : Изд-во ОмГТУ, 2012. с. 130 – 154.
Тема следующего занятия:
Тема № 3: «Танковые боеприпасы».
English     Русский Правила