Лекция 19-20
План.
Причины политического кризиса власти:
Предпосылки Октябрьской революции 1917 г.
Основные события Октябрьского переворота 1917 г.
Вооруженное восстание в Петрограде
II Всероссийский съезд Советов
II Всероссийский съезд Советов
Изменения в общественном строе
Национальная политика
Учредительное собрание в России
Судебная система
ВЧК
Создание основ советского права
22.95M
Категория: ИсторияИстория

Лекция 19-20 (1)

1. Лекция 19-20

Тема 11. Февраль и Октябрь
1917 года: проблема
исторического выбора.

2. План.

• 1. Февральская революция в России: причины, характер, движущие
силы.
• 2. Свержение монархии. Установление двоевластия.
• 3. Кризисы Временного правительства. Корниловский мятеж. Усиление
влияния большевиков.
• 4. Октябрьская революция. Современные оценки октябрьских событий.
• 5. II Всероссийский съезд Советов и его решения.
• 6. Становление советской государственности. Первые декреты
советской власти. Советы и Учредительное собрание: проблема
политического выбора

3. Причины политического кризиса власти:

рост буржуазии, крупного капитала, вставшего на путь оппозиции царской
власти;
развитие рабочего движения, охваченного идеями марксизма, усиливаются
революционные настроения;
нерешенный аграрный вопрос в ходе реформы П.А. Столыпина обострили
социально-экономические проблемы крестьян;
неудачи в Первой мировой войне царского правительства также подрывали
авторитет императорской власти;
частая смена правительства - «министерская чехарда» демонстрировали
нестабильность действующей исполнительной власти;
продовольственный кризис вызвал массовые недовольства и др.

4.

5.

6.

Факторы, ускорившие наступление революции
Хозяйственный кризис зимой 1916-1917 гг: топливный, транспортный,
продовольственный (снабжение продуктами менее 25 %), финансовый (инфляция: в
начале 1917 г. рубль равнялся 27 копейкам 1913 г.)
Ухудшение материального положения трудящихся из-за роста цен, нехватки
товаров и т.п.
Кризис власти – «министерская чехарда», «распутинщина», противостояние
Государственной думы и правительства
Поражение Росси на фронте, значительные людские потери, усталость населения
от войны
Как следствие, усиление стачечного, крестьянского и антивоенного
движения, оппозиции либералов, агитации левых партий, что привело к
разрушению социально-политической основы государства

7.

Задачи революции
Свержение
установление
республики
самодержавия
и
демократической
Законодательное закрепление
часового рабочего дня
Решение аграрно-крестьянского
вопроса и наделение крестьян
землей
8-
Гарантия выполнения властью
демократических свобод
Выход России из войны и
заключение демократического мира
– основное требование рабочих и
крестьян (важнейшая задача)
Предоставление народам России
равноправия и самоопределения

8.

Характер революции
БУРЖУАЗНО-ДЕМОКРАТИЧЕСКИЙ
(по задачам и движущим силам)
Таким образом, революция стала результатом общенационального
кризиса и неспособности верховной власти решить назревшие проблемы,
обострившиеся в ходе I Мировой войны, которая ускорила начало
революции

9.

10.

11.

12.

13.

14.

15.

16.

Основные причины, по которым
Петроградский Совет добровольно передал
власть Временному правительству
Взгляды эсеров и меньшевиков, составляющих большинство в Совете, на
произошедшую революцию как буржуазно-демократическую, а значит власть
должна принадлежать правительству либеральных партий
По мнению лидеров Совета, Россия перейдет к социализму только пройдя
длительный путь демократической эволюции в условиях парламентаризма
Стремление иметь орган государственной власти, легитимность которого была бы
признана всеми слоями российского общества и союзными державами

17.

В силу этих основных причин 2 марта 1917 г. на совместном совещании
обоих органов лидеры Совета признали Временное правительство официальной
властью в России
Вместе с тем:
лидеры Петроградского Совета полностью не устранялись от реальной
власти, обретенной ими в дни революции;
по их мнению, задача Совета – контроль за деятельностью Временного
правительства и оказание на него давления в случае отклонения от
демократического курса;
в сложившейся ситуации (двоевластия) официальному Временному
правительству приходилось согласовывать свои действия с Петроградским
Советом

18.

• В своей деятельности, вплоть до созыва Учредительного собрания,
Временное правительство должно было руководствоваться выработанной
Исполкомом Петроградского Совета и согласованной с Временным
Комитетом Думы программой.
Программа включала 8 пунктов:
• полная и немедленная амнистия по всем политическим и религиозным
делам;
• свобода слова, печати, союзов, собрания, стачек и т. д.;
• отмена всех сословных, национальных и религиозных ограничений;
• подготовка к созыву Учредительного собрания;
• замена полиции народной милицией с выборным начальством; выборы
в органы местного самоуправления;
• неразоружение и невывод революционных войск Петроградского
гарнизона на фронт;
• предоставление солдатам гражданских прав.
Как видно из программы, в ней отсутствовало важнейшее требование
программы-минимум РСДРП — установление в России демократической
республики.

19.

• Лидеры Петроградского Совета и Государственной думы
выработали также юридический статус Учредительного собрания,
важнейшее положение которого гласило: что «решение главных
вопросов государственной жизни, включая определение формы
правления, есть исключительная прерогатива Учредительного
собрания («непредрешение»).
• С одной стороны, такое решение на время установило баланс сил.
Даже откровенные монархисты приняли эту формулу, так как она
давала им надежду на поправение общества и восстановление
монархии через Учредительное собрание.
• С другой стороны, и Временное правительство, и социалистические
партии стали со временем заложниками принципа «непредрешения».
Они не могли распорядиться полученной властью даже в той мере, в
какой готовы были сделать это, не рискуя быть обвиненными в
посягательстве на права Учредительного собрания.

20.

• Лидирующая роль в демократическом движении России до осени
1917 г. принадлежала блоку меньшевиков и эсеров. Эти партии имели
большинство во многих Советах, а их представители возглавляли ЦИК
Советов первого призыва.
• Все течения меньшевизма объединяла и позволяла существовать в
одной партии убежденность в невозможности и гибельности в
условиях 1917 г. осуществления пролетарской революции.
• В основе разработанной меньшевиками концепции революции лежала
мысль о том, что Россия, ввиду ее экономической отсталости, еще
не созрела для социализма и что начавшаяся революция призвана
создать демократические условия для беспрепятственного
развития капитализма в стране. Из этой оценки следовал и
политический вывод меньшевиков: власть в демократической
России должна принадлежать буржуазно-демократическим
партиям, прежде всего кадетам.

21.

22.

23.

24.

25.

26.

27.

28.

29.

30.

31.

32.

33.

34.

35.

36.

37.

38.

39.

Рассмотрев событийную сторону, можно составить общую схему
политической борьбы в российском обществе в феврале-октябре
1917 года. Пришествие во власть Временного правительства и
отказ от борьбы с ним Советов означал победу буржуазнодемократической альтернативы развития России. Получив
реальную власть, партии как либерального толка (кадеты,
прогрессисты, «Союз 17 октября»), так и революционносоциалистиче-ской направленности (эсеры, меньшевики) впали в
паралитическое состояние, не предпринимая никаких
решительных действий. В общих чертах ситуация выглядела
следующем образом:

40.

Временное правительство удерживало власть,
Учредительного собрания и проведение реформ
откладывая
созыв
Советы не брали власть, также ожидая созыва собрания.
Война продолжалась,
оба источника власти не оправдывали народных ожиданий.
Это дало повод и возможность вскинуть голову крайне правым
(корниловский мятеж) и активизировать действия крайне левым (большевики).
Монархическо-диктаторская альтернатива
Керенского потерпела поражение.
в
лице
Корнилова
и
Большевики в этих условиях смогли доказать, что они не только целиком
и полностью разделяют чаяния народа, но и вполне способны их
осуществить на практике.

41. Предпосылки Октябрьской революции 1917 г.

1. классовые противоречия, обострившиеся в 1917 г. между трудом и капиталом: классом
буржуазии и пролетариатом;
2. нерешенный крестьянский вопрос о земле реформой 1861 г, столыпинской реформой, а
наоборот, дифференциацией внутри самого крестьянства, появление зажиточного
крестьнина-кулака;
3. рост национально-освободительного движения в России;
4. участие России в 1 Мировой войне, острые противоречия по вопросу ее дальнейшего
развития;
5. слабость Временного правительства и всего государственного аппарата, созданного
им;
6. широкая популярность в обществе социалистических идей, идей марксизма нашли
отклик и в широких народных кругах;
7. существование в России большевистской партии, готовой повести массы на революцию;
8. наличие у большевиков сильного руководителя, авторитетного ставшего настоящим
вождем, - Владимира Ильича Ульянова (Ленина).

42. Основные события Октябрьского переворота 1917 г.

43. Вооруженное восстание в Петрограде

44. II Всероссийский съезд Советов

45.

46. II Всероссийский съезд Советов

47. Изменения в общественном строе

• С ликвидацией помещичьей собственности на землю перестал
существовать класс помещиков. Серьезно были подорваны
экономические позиции буржуазии. 10 ноября 1917 г. Декретом
об уничтожении сословий и гражданских чинов были упразднены
все существующие в России сословия, сословное деление
граждан, сословные привилегии и ограничения, а равно и
гражданские чины. Для всех устанавливалось общее наименование
– граждане Российской Республики.
• Женщина была уравнена в правах с мужчиной.

48. Национальная политика

• 2 (15) ноября1917 г. Декларация прав народов России,
право народов на самоопределение вплоть до отделения и
образования самостоятельного государства, отмену
национальных и национально-религиозных привилегий и
ограничений,
свободное
развитие
национальных
меньшинств и этнических групп.

49. Учредительное собрание в России

50.

51.

52.

53.

54.

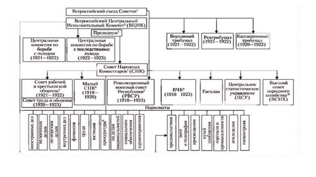
55. Судебная система

56.

57. ВЧК

58.

59.

60. Создание основ советского права

• Формирование основ советского права началось с изданием первых
декретов Второго Всероссийского съезда Советов, сформировавших его
принципы. Декрет о суде № 1 отменял действие старых законов, если
они противоречили «революционному правосознанию». Последнее и
стало главным источником права при отсутствии новых писаных норм.
• «Революционное правотворчество» осуществлялось судебными
органами, высшими органами власти (съезд, ВЦИК, СНК),
руководящими органами политических партий (ЦК) и даже местными
советами. Приоритет «революционного правосознания» в качестве
источника права, основывался на господстве в первые годы революции
психологической теории права, считавшей важнейшим аспектом
правовой реальности именно правосознание, а не норму и не
правоотношение.

61.

• СПАСИБО ЗА ВНИМАНИЕ!
English     Русский Правила