Лекция 2. Транзисторы и тиристоры
История создания биполярного транзистора
2.1 Биполярные транзисторы
Принцип работы биполярного транзистора
Схемы включения биполярного транзистора
Режимы работы транзистора
ВАХ биполярного транзистора
2.2 Полевые транзисторы
Устройство и принцип работы полевого транзистора
Полевые транзисторы с изолированным затвором
2.3 Биполярные транзисторы с изолированным затвором
1.4 Маркировка транзисторов
Значение третьего символа в обозначении транзистора
2.5 Тиристоры
Динисторы
Тринисторы
Запираемый тиристор
Симистор
Условно-графическое обозначение тиристоров а. динистор б. тринистор в. запираемый тиристор г. симистор
Принцип работы и ВАХ тринистора
Основные параметры тринисторов
Краткие выводы:
10.93M
Категория: ЭлектроникаЭлектроника

Lektsia_2_2_TRANZISTORY

1. Лекция 2. Транзисторы и тиристоры

• 2.1 Биполярные транзисторы
• 2.2 Полевые транзисторы
• ____________________________________
• 2.3 IGBT- транзисторы (биполярные
транзисторы с изолированным затвором)
• 2.4 Маркировка транзисторов
• 2.5Тиристоры

2. История создания биполярного транзистора


История создания транзисторов начинается в первой половине 20-го
века, когда ведущие инженеры и учёные искали возможности для создания
более совершенных и уменьшенных устройств для управления электрическим
током, которые могли бы заменить громоздкие и ненадежные электронные
лампы.
Первый успешно работающий транзистор создали 23 декабря 1947 года
учёные Уильям Шокли, Джон Бардин и Уолтер Браттейн в
исследовательских лабораториях Bell Telephone Laboratories, за что позднее
получили Нобелевскую премию. Это был точечный контактный транзистор,
который использовал две металлические иглы, прижимаемые к кристаллу
германия. Он доказал способность усиливать и переключать электрические
сигналы и открыл эпоху полупроводниковой электроники.
В 1951 году был разработан биполярный переходной транзистор,
который оказался намного более надежным и удобным для серийного
производства по сравнению с точечным контактным транзистором. В них
использовалась технология переходов между полупроводниками разного типа
(p-n переход), что позволяет более эффективно управлять потоком тока.

3.

4. 2.1 Биполярные транзисторы

5. Принцип работы биполярного транзистора

6.

7. Схемы включения биполярного транзистора

8.

9.

10.

11. Режимы работы транзистора

12.

13.

14. ВАХ биполярного транзистора

15.

16. 2.2 Полевые транзисторы

17.

18. Устройство и принцип работы полевого транзистора

19.

20.

21.

22. Полевые транзисторы с изолированным затвором

23.

24.

25.

26.

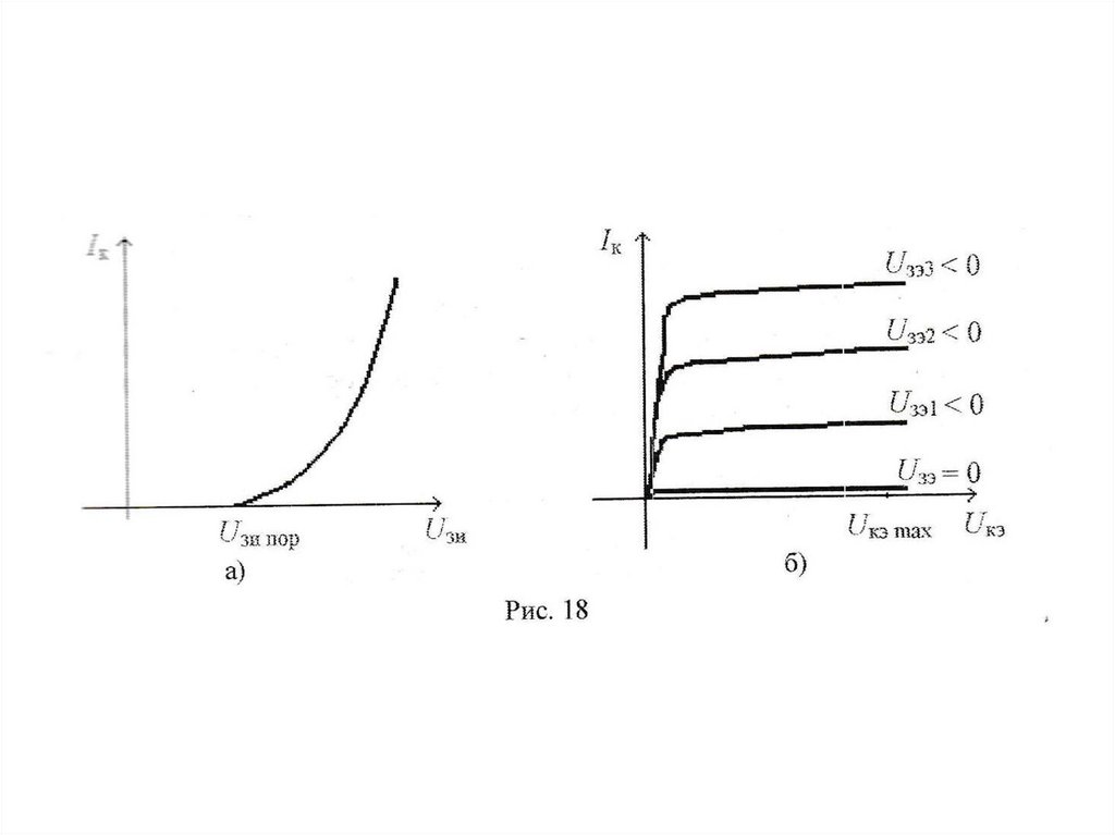
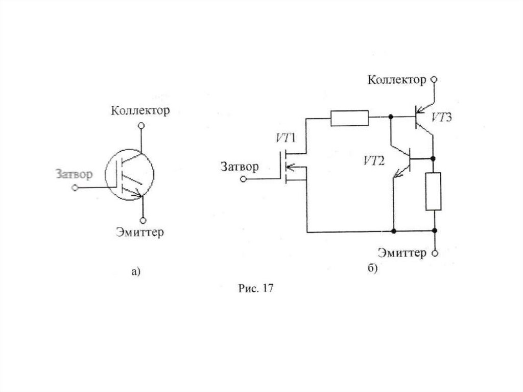
27. 2.3 Биполярные транзисторы с изолированным затвором

28.

29.

30.

31.

32. 1.4 Маркировка транзисторов

33.

34. Значение третьего символа в обозначении транзистора

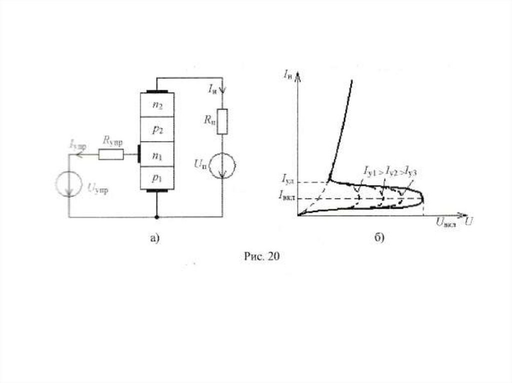
35. 2.5 Тиристоры

36. Динисторы

37. Тринисторы

38. Запираемый тиристор

39. Симистор

40. Условно-графическое обозначение тиристоров а. динистор б. тринистор в. запираемый тиристор г. симистор

41. Принцип работы и ВАХ тринистора

42.

43. Основные параметры тринисторов

44.

45. Краткие выводы:

• 1.
• 2.
• 3.
- 4.
- 5.
English     Русский Правила