797.05K

Лекция3_c_заметками

1.

ЛЕКЦИЯ:
БИПОЛЯРНЫЕ ТРАНЗИСТОРЫ
План лекции:
i. Объяснить физический принцип работы
ii. Выражения для ВАХ
iii. Получить модель (эквивалентную схему)

2.

ВВЕДЕНИЕ:
ИСТОЧНИК ТОКА, УПРАВЛЯЕМЫЙ НАПРЯЖЕНИЕМ

3.

СТРУКТУРА БИПОЛЯРНОГО ТРАНЗИСТОРА (БТ):

4.

РАБОТА БТ В ПРЯМОМ
АКТИВНОМ РЕЖИМЕ:

5.

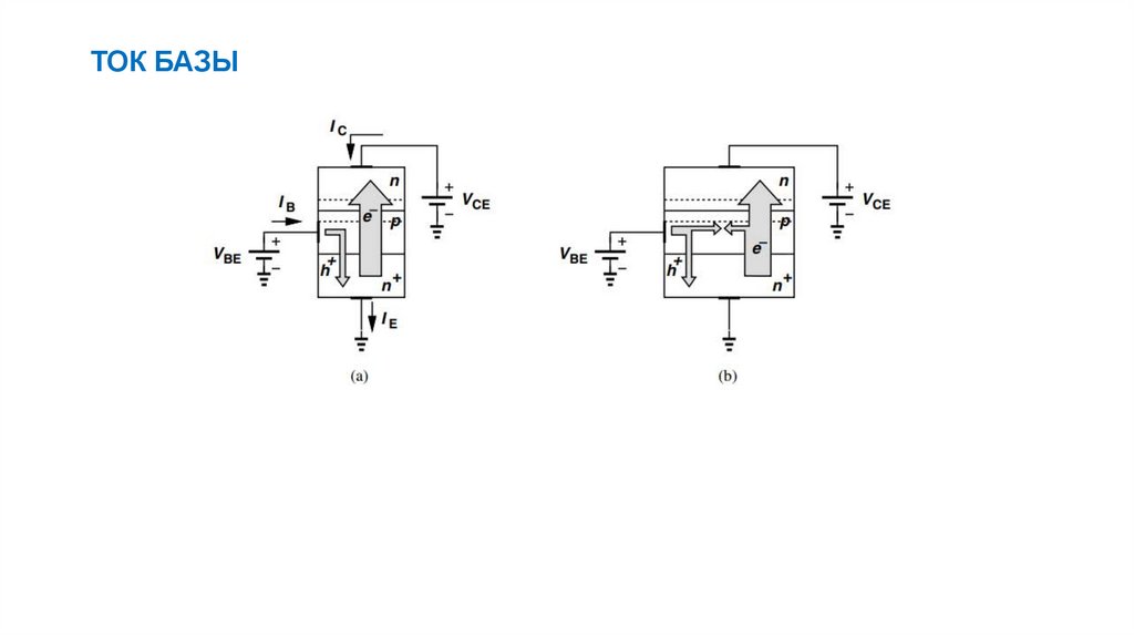
ТОК БАЗЫ

6.

БТ КАК ИТОЧНИК ТОКА
(В АКТИВНОМ РЕЖИМЕ)
Прямой
активный режим

7.

МОДЕЛЬ БТ В РЕЖИМЕ
БОЛЬШОГО СИГНАЛА

8.

ПЕРЕДАТОЧНАЯ И ВЫХОДНАЯ
ХАРАКТЕРИСТИКИ БТ

9.

ПОНЯТИЕ КРУТИЗНЫ
ПЕРЕДАТОЧНОЙ
ХАРАКТЕРИСТИКИ БТ

10.

МОДЕЛЬ БТ В РЕЖИМЕ МАЛОГО
СИГНАЛА (МАЛОСИГНАЛЬНАЯ
МОДЕЛЬ ТРАНЗИСТОРА)

11.

ЭФФЕКТ ЭРЛИ
English     Русский Правила