2.96M
Категория: ФизикаФизика

Приводы агрегатов авиационного двигателя. (Тема 9)

1.

Тема № 8. АВИАЦИОННЫЕ ДВИГАТЕЛИ.
Лекция. Приводы агрегатов авиационного
двигателя.
1
Учебные вопросы:
1. Назначение, общее устройство коробок
приводов.
2. Трансмиссия вертолёта: назначение, состав.
3. Муфты: храповая, роликовая, фрикционная.
4. Особенности эксплуатации, характерные
неисправности коробок приводов,
трансмиссии вертолёта. Осмотр.

2.

2
1. Назначение, общее устройство
коробок приводов.

3.

ПРИВОД – служит для передачи вращения от ротора
двигателя к агрегатам самолёта и двигателя с
3
определённой скоростью и направлением.

4.

4
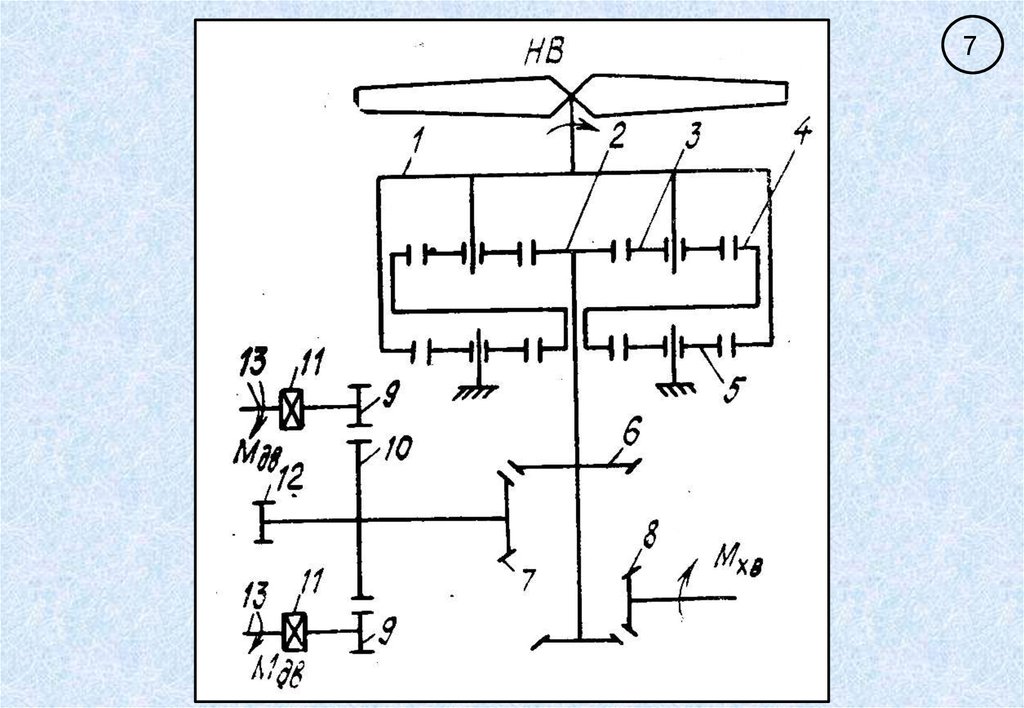
2. Трансмиссия вертолёта:
назначение, состав.

5.

ТРАНСМИССИЯ – предназначена для передачи
крутящего момента от двигателей к несущему и
рулевому винтам и другим агрегатам.
5
СОСТАВ
главный
редуктор
хвостовой
вал
промежуточный
редуктор
вал привода
вентилятора
редукторная
рама
хвостовой
редуктор
тормоз несущего
винта

6.

6

7.

7

8.

8

9.

9

10.

10

11.

11

12.

12
3. Муфты: храповая, роликовая,
фрикционная.

13.

МУФТЫ – предназначены для отключения и
подключения стартеров
ХРАПОВАЯ МУФТА:
13

14.

РОЛИКОВАЯ МУФТА:
14

15.

15

16.

ФРИКЦИОННАЯ МУФТА:
16

17.

17
4. Системы зажигания.
English     Русский Правила