5.09M
Категория: ФизикаФизика

Проектирование МДП СБИС. Структуры МДП в СБИС

1.

Проектирование МДП СБИС
Структуры МДП в СБИС
1

2.

а — р-канальный МОП-транзистор, работающий в режиме
обогащения;
б — n-канальный МОП-транзистор, работающий в режиме
обогащения.
2

3.

Схемы инверторов
3

4.

Схемы инверторов
4

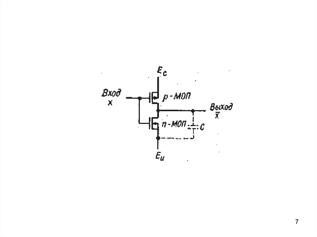
5.

Схемы инверторов
. Схема инвертора с
МОП-транзистором в качестве
нагрузки
Схема И-НЕ
5

6.

Схемы инверторов
.Схема ИЛИ-НЕ
Последовательно-параллельная схема
6

7.

7

8.

8
English     Русский Правила