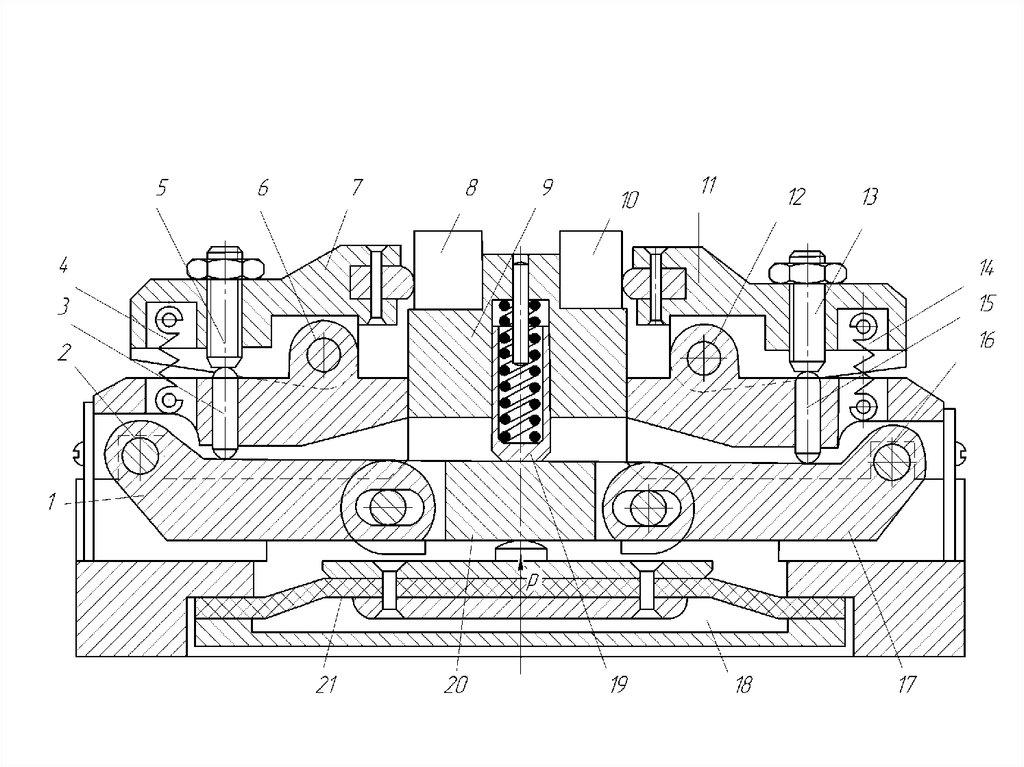
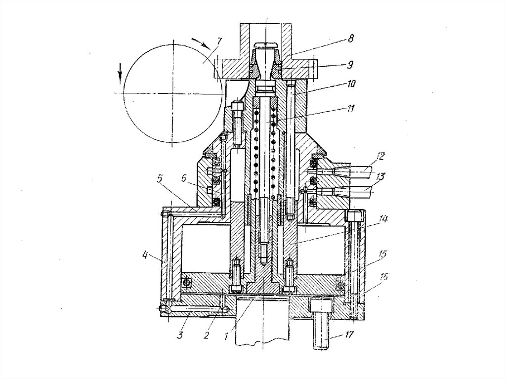
Пневмотиски
3.11M
Категория: ПромышленностьПромышленность

Пневмотиски

1. Пневмотиски

English     Русский Правила