2.21M
Категория:
Механика
Похожие презентации:
Прості механізми в побутових пристроях
Прості механізми в побуті
Закон збереження в механіці
Закони збереження в механіці
Розміщення електрообладнання БМП-2 в машині
Апаратура ручного керування напругою до 1000 В. Тенденції в удосконаленні електротехнічних апаратів
Перші автомобілі в історії
Компоновка спеціального електрообладнання БМП-2 в машині
Мегаконструкції. Найбільший в світі екскаватор
Винаходи під час промислового перевороту в Англії
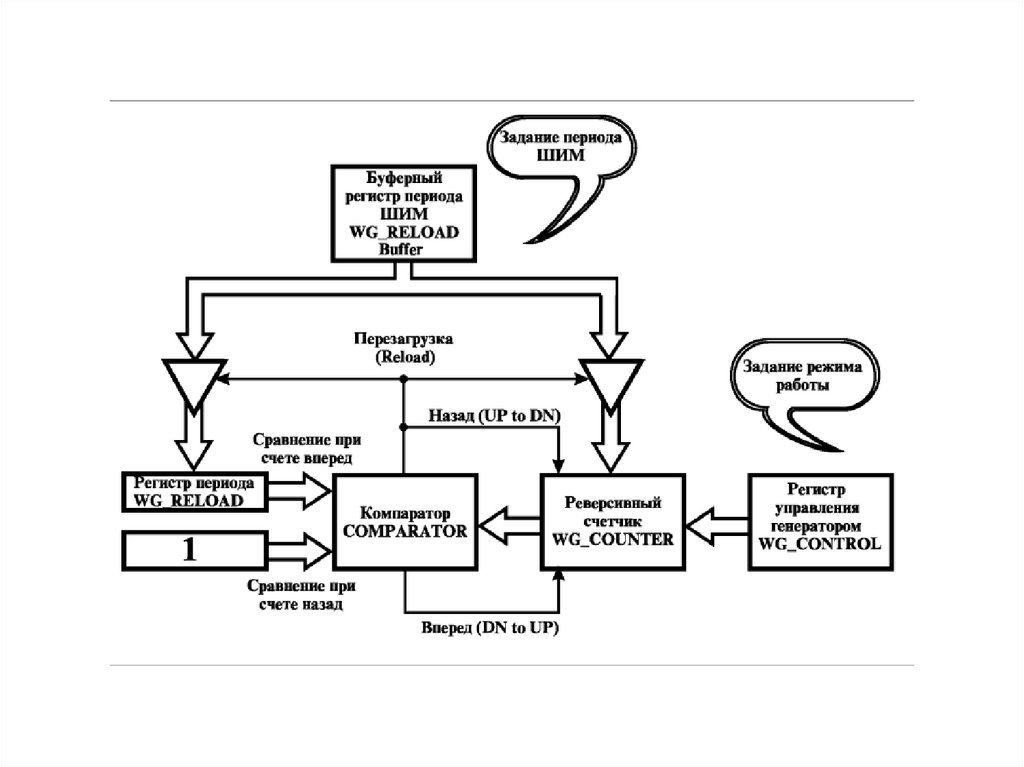
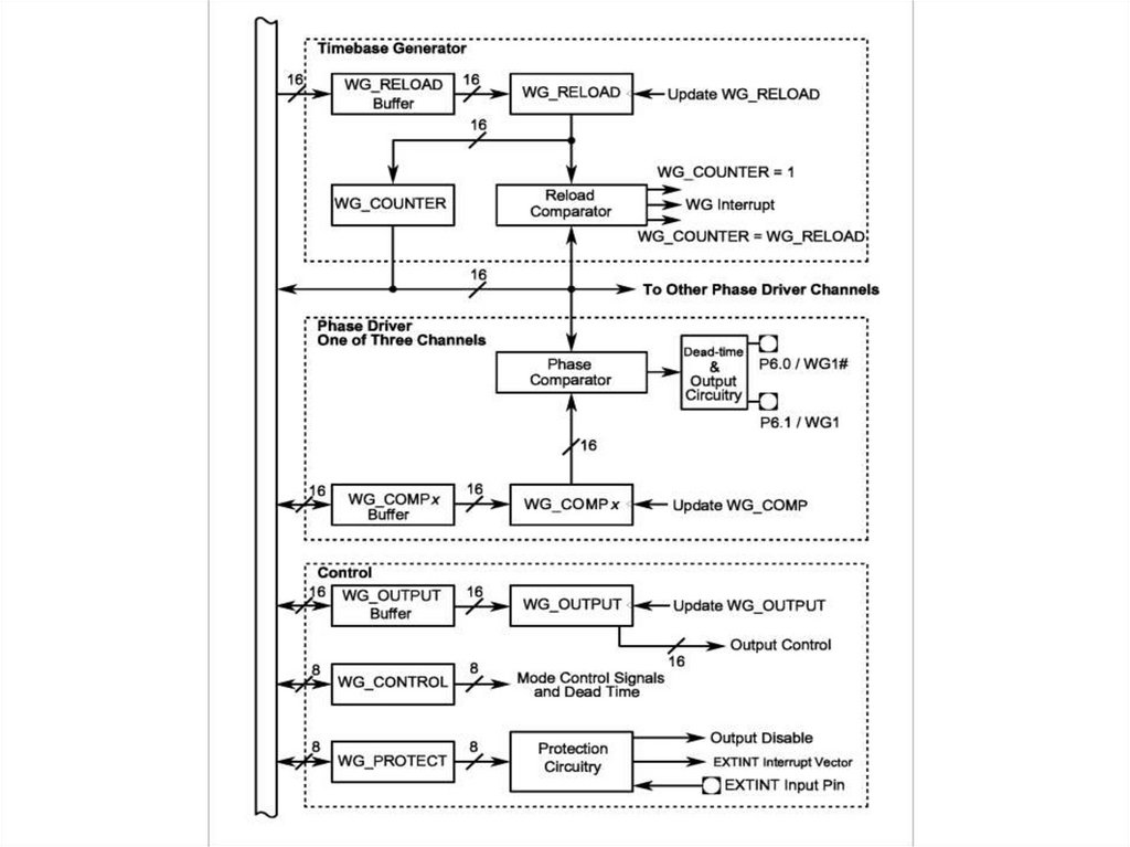
Особенности использования ШИМ-генераторов в ЕРА-микроконтроллерах
1.
МСУЭП
ШИМ(2)
English
Русский
Правила