491.86K
Категория: ПромышленностьПромышленность

Разработка 3D - карты наладки для сверлильно - фрезерной операции с ЧПУ

1.

Автоматизация ТПП
Лабораторная работа №4
Разработка 3D-карты наладки для сверлильнофрезерной операции с ЧПУ

2.

План работы:
1. Изучить конструкцию и принцип работы станочного приспособления.
2. Построить 3D-модель сборки приспособления в Компас3D
с необходимыми для выполнения операции размерами деталей.
3. «Установить и закрепить» на 3D-модели приспособления заготовку
к сверлильно-фрезерной операции с ЧПУ.
4. Аннотировать 3D-модель.
5. Проверить правильность выбранных размеров приспособления

3.

4.

5.

6.

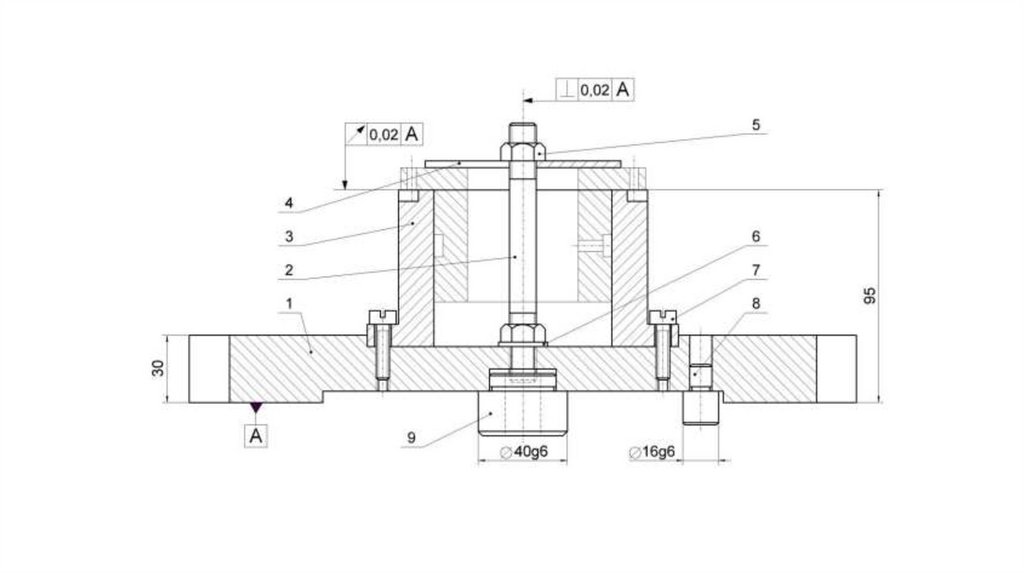
Пример 3D-карты наладки станка с ЧПУ

7.

Содержание отчета:
1. Исходные данные
- Операционная заготовка для операции 020 и готовая
деталь (с аннотациями) - скриншоты
2. 3D-модели деталей приспособления (с аннотациями) - скриншоты
3. 3D-модель приспособления в сборе - скриншот
4. «Установленная» и «закрепленная» заготовка в приспособлении
(с аннотациями) - скриншот
5. Готовая деталь в приспособлении (с аннотациями) - скриншот
English     Русский Правила