556.73K
Категория:
Механика
Похожие презентации:
Планетарные передачи
Планетарные и волновые передачи
Планетарные передачи
Механические передачи. Планетарные и волновые передачи. (Лекция 8)
Механические передачи. Планетарные и волновые передачи. Лекция № 8
Планетарные и волновые зубчатые передачи. Механика и расчет передачи. Передача винт-гайка
Зубчатые передачи
Планетарные коробки передач
Зубчатые передачи
Детали машин и основы конструирования. Цилиндрические передачи Новикова. Гиперболоидные передачи. (Лекция 8.2)
Планетарные передачи
1.
Планетарные передачи
Зацепление Новикова
2.
Эвольвентное зацепление
3.
4.
5.
6.
ШЕВРОННЫЕ КОЛЁСА
7.
Зацепление Новикова
8.
9.
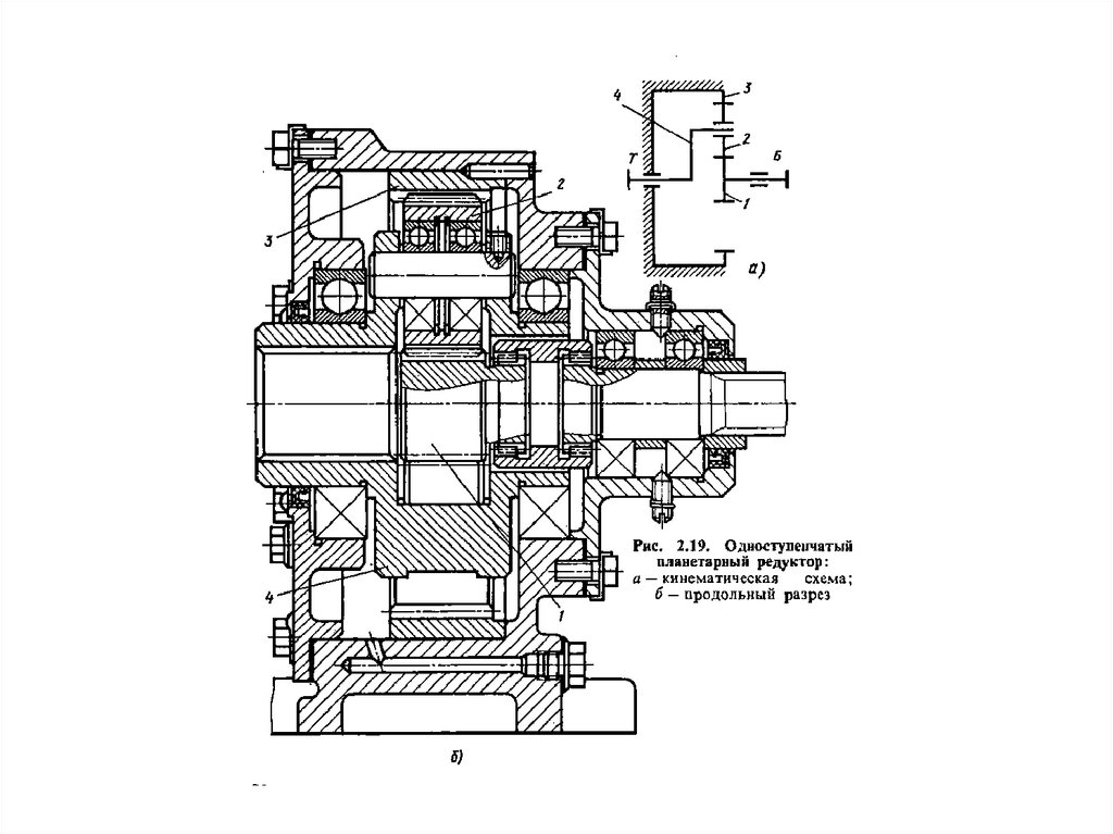
Планетарная
передача
English
Русский
Правила