721.46K
Категория: ЭлектроникаЭлектроника

Лекция1_с_заметками

1.

ЛЕКЦИЯ 1
Полупроводники
PN - переход

2.

Ковалентная
связь
Свободный
электрон
Дырка

3.

Легированный полупроводник
Кристалл
кремния
ND (Донор/см3)
Примесь
n-типа
(Донор)
Свободный
основной
носитель заряда
Кристалл
кремния
NA (Акцептор/см3)
Свободный
основной
носитель заряда
Примесь pтипа
(Акцептор)

4.

Свободные
электроны
Свободные
Положительные
дырки
ионы
Отрицательные
ионы
Обедненная
область

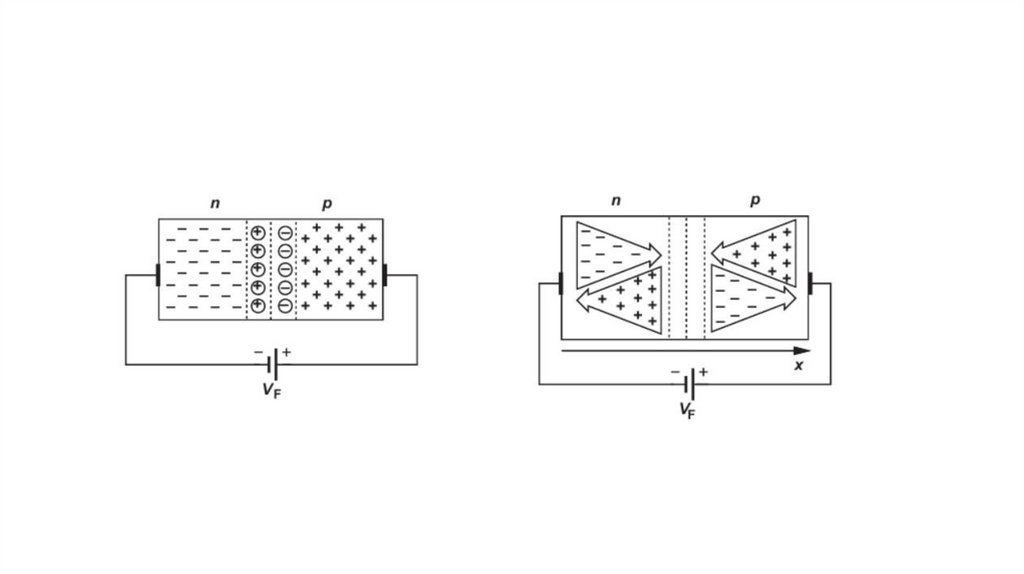
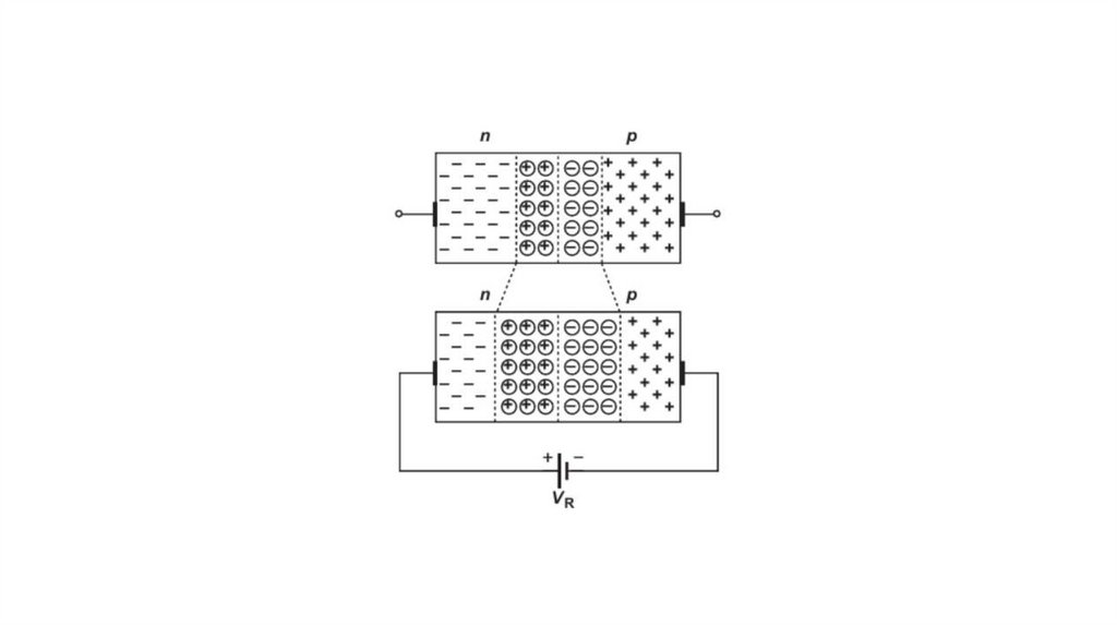
5.

6.

(более отрицательное)
English     Русский Правила