Тема 3: «Элементы радиотехнических устройств и автоматики, применяемые в ЗРС»
885.76K
Категория: ФизикаФизика

Тема_3_Зан1_Основы_теории_линии_передач_СВЧ

1. Тема 3: «Элементы радиотехнических устройств и автоматики, применяемые в ЗРС»

Занятие 1. Основы теории линии передач СВЧ.
Вопросы:
1. Общие сведения о длинных линиях. Режимы работы.
2. Свойства отрезков длинных линий.
3. Структура электромагнитного поля в волноводе.

2.

Литература:
1. В.А. Журавлёв, В.С. Озарчук, М.Э. Поспелов «Основы теории
электромагнитных волн в волноводах», учебное пособие, СПб 2023 г. – 67 с.
2. В.А. Журавлёв, С.В. Маковей, В.С. Озарчук, М.Э. Поспелов, В.В. Ясницкий
«Средства обеспечения ЗРС радиолокационной информацией», учебное
пособие, СПб 2022 г. – 453 с.

3.

Вопрос 1.
Общие сведения о длинных линиях.
Режимы работы.
Электромагнитные волны – особый вид материи, который
отличается непрерывным распределением и распространением в
пространстве со скоростью близкой к 3*108 м/сек (300 000 км/сек) и
оказывающей на заряженные частицы силовое воздействие.
Всякое изменение напряженности электрического поля в какойнибудь точке пространства вызывает в смежных точках появление
магнитного поля, изменение которого в свою очередь порождает
меняющееся
электрическое поле. Именно поэтому
происходит
передача колебаний напряженностей из одной точки в другую
(распространение ЭМВ).

4.

Принято метровые, дециметровые, сантиметровые, миллиметровые
волны объединять понятием ультракороткие волны. Использование
СВЧ диапазона потребовало коренного изменения элементной базы
радиотехнических систем и создания новых типов линий передачи
энергии СВЧ колебаний. Линии передачи СВЧ энергии колебаний
служат для передачи с минимальными потерями этой энергии от
источника к потребителю, от передатчика к антенне, от антенны к
приемнику. Линия называется длинной, если ее геометрические
размеры (длина) соизмеримы с длиной волны колебаний,
распространяющихся по этой линии.
На практике, в диапазоне СВЧ, удобно переходить от длины волны к
частоте и наоборот по формуле: λ (м) = 300/f (МГц).
Например: Линия электропередачи длиной 100 км считается
короткой, так как при частоте 50 Гц длина волны составляет 6000 км.
Зато линия, имеющая длину 10 см, при частоте 1000 МГц считается
длинной, потому что длина волны в этом случае равна 30 см.

5.

В технике СВЧ находят применение следующие виды длинных линий:
1. В метровом диапазоне волн:
Открытая
двухпроводная линия состоит из двух
параллельных
проводников с хорошей проводимостью, закрепленных на изолирующих
распорках для фиксации расположения. Применяются медные, бронзовые и
алюминиевые провода диаметром 2-6 мм.
Достоинства:
-простота устройства;
-симметричность ( для связи с симметричной антенной).
Недостатки:
-большие потери на излучение;
-потери в изоляторах;
-влияние внешних электромагнитных полей.

6.

В технике СВЧ находят применение следующие виды длинных линий:
1. В метровом диапазоне волн:
Открытая четырёхпроводная линия состоит из четырех параллельных
проводов, образующих в поперечном сечении квадрат. Эти провода, обычно
из бронзы
соединяются попарно в начале, конце и в промежуточных
сечениях линии.
Изолированная
двухпроводная
линия.
Провода
окружены
высокочастотным
диэлектриком,
защищенным
от
механических
повреждений изоляцией.
Симметричная экранированная линия отличается наличием экрана.

7.

В технике СВЧ находят применение следующие виды длинных линий:
2. В дециметровом диапазоне волн:
Коаксиальные двухпроводные линии.
В жестких, внешним проводником служит полая труба круглого сечения,
внутри которой располагается труба малого сечения.
Недостатки:
-несимметричные;
-по устройству сложнее и дороже симметричных.
Преимущества:
-практически отсутствуют потери на излучение (электромагнитное поле
сосредоточено внутри линии);
-внешний провод служит экраном ( не обладает антенным эффектом);
-ток высокой частоты проходит по внутренней поверхности внешнего
провода;
-внешняя поверхность имеет нулевой потенциал,
не требуется
изолировать от земли, что облегчает прокладку линии.

8.

В технике СВЧ находят применение следующие виды длинных линий:
2. В дециметровом диапазоне волн:
Коаксиальные двухпроводные линии.
В гибких коаксиальных линиях внешним проводом служит оплетка из
медной проволоки, обычно покрытая оболочкой из пластмассы. Внутри
внешнего проводника, соосно с ним располагается внутренний проводник.
Все внутреннее пространство заполняется диэлектриком.
Маркируются гибкие коаксиальные линии следующим образом:
РК-75-4-12, где:
РК – радиочастотный, коаксиальный;
75 – волновое сопротивление;
4 – диаметр по изоляции;
12 - изоляция из полиэтилена 1 и номер конструкции 2.

9.

В технике СВЧ находят применение следующие виды длинных линий:
3. В сантиметровом диапазоне волн:
Использование коаксиальных линий становится невыгодно из-за больших
потерь. Возрастание потерь происходит из-за того, что по внутреннему
проводу коаксиальной линии течет ток большей плотности, чем по
внешнему. В результате на внутреннем проводе выделяется больше тепла
(больше потери) и, кроме того, создается повышенная напряженность,
приводящая при большой передаваемой мощности к перенапряжению и
электрическому пробою. Необходимо исключить внутренний провод и
передавать энергию по одному проводу.

10.

В технике СВЧ находят применение следующие виды длинных линий:
3. В сантиметровом диапазоне волн:
Волновод, представляет собой цельнотянутую полую металлическую
трубу прямоугольного, реже другого вида сечения.
Преимущества:
-позволяют передавать большую мощность с малыми потерями без перенапряжений и пробоя.
Недостаток:
- размеры внутреннего поперечного сечения прямо пропорциональны
длине волны передаваемой энергии;
- в дециметровом диапазоне волн размеры волноводов становится очень
большим и практически неприемлемыми.
Рис. Волновод:
а.) прямоугольного сечения; б.) круглого сечения

11.

В технике СВЧ находят применение следующие виды длинных линий:
3. В сантиметровом диапазоне волн:
Полосковые линии представляют металлическую ленту, расположенную над
металлической плоскостью, или между двумя металлическими плоскостями.
Пространство между плоскостями заполняется высококачественным
диэлектриком, пробивное напряжение которого в 7-8 раз выше, чем у
воздуха. Полосковые линии могут пропускать колебания в широком
диапазоне частот и используются в современных устройствах СВЧ на
частотах до десятков гигагерц.
Эти линии
являются практически единственно пригодными для
интегральных микросхем, и в этом случае их называют микрополосковыми.
а.) несимметричная линия; б.) симметричная линия

12.

В технике СВЧ находят применение следующие виды длинных линий:
4. В миллиметровом диапазоне волн:
Однопроводные линии передачи, один металлический проводник или
металлический проводник покрытый высококачественным диэлектриком.
(поле за счет поверхностной волны концентрируется вдоль провода).

13.

В двухпроводной линии электрическая энергия сосредоточена в
электрическом поле между проводами. Магнитная энергия сосредоточена в
магнитном поле, охватывающем провода. Сами же провода – это
направляющие, вдоль которых происходит движение ЭМЭ.
Вдоль линии электрическое поле распределено по тому же закону , что и
заряды. Силовые лини электрического поля направлены от (+) к (–).
Магнитные силовые линии охватывают провода с током. Направление их
определяется правилом “Буравчика”.

14.

В коаксиальной линии вся электромагнитная энергия сосредоточена
между внутренним и внешним проводами
Распределение во времени вдоль линии напряжения и тока получило
название бегущей волны. Бегущие волны распространяются вдоль линии со
скоростью, близкой к скорости света.

15.

Режимы работы длинной линии
В длинной линии возможны три режима работы:
• Режим бегущих волн в линии имеет место, когда в ней распространяется
только падающая волна напряжения и тока, а отраженная во всех
сечениях равна нулю. В этом режиме вся энергия от источника питания
передается в нагрузку, отражение отсутствует.
• Режим стоячих волн имеет место, когда происходит полное отражение
волны от нагрузки, т.е. в линии одновременно присутствуют две волны,
амплитуды которых одинаковы.
• Режим смешанных волн. В этом режиме энергия частично выделяется
в нагрузке, а частично отражается, т.е. в линии одновременно
присутствуют две волны, амплитуды которых не одинаковы.

16.

Режим стоячих волн
Рассмотрим частные случаи работы длинных линий:
-
линия разомкнута на конце RH ;
линия зaмкнута на конце RH 0 .
Так как нагрузка отсутствует, то энергия бегущей от генератора волны не
может быть поглощена и не может двигаться далее разрыва или
перемычки. Естественно предположить, что бегущая от генератора
падающая волна должна отразиться в сечении разрыва или перемычки и
двигаться в обратном направлении. Значит в этом случае существуют
одновременно две бегущие волны – падающая и отраженная. Падающая
волна распространяется от генератора, отраженная – к генератору.
В случае полного отражения (если амплитуды падающей отраженной
волны равны Uпад = Uотр) возникает режим стоячих волн

17.

Чтобы начертить кривую распределения действующих значений
напряжения и тока вдоль линии, построение удобно начинать с конца
линии, так как в конце разомкнутой линии расположены пучность
напряжения и узел тока, а в конце короткозамкнутой линии – пучность
тока и узел напряжения.

18.

Линия разомкнута на конце

19.

Линия замкнута на конце
Если на вход короткозамкнутой линии подать напряжение от источника
переменного тока, то в линии устанавливается режим стоячей волны.
При этом величина тока в конце линии достигает максимального
значения, а напряжение равно нулю

20.

21.

Вопрос 2.
Свойства отрезков длинных линий
1.В качестве колебательных контуров.
В диапазоне дециметровых волн в качестве колебательных контуров
часто используют отрезки воздушных или коаксиальных линий длиной
2 или 4, разомкнутые или замкнутые на конце. Настройка таких
контуров осуществляется изменением длины линии путем перемещения
закорачивающей перемычки в двухпроводных линиях или плунжера
(поршня) в коаксиальных линиях.

22.

2.В качестве металлических изоляторов.
С ростом частоты сильно возрастают потери в изоляторах из
диэлектрика. Поэтому на дециметровых и сантиметровых волнах
применяют металлические изоляторы, представляющие собой
короткозамкнутую линию длиной /4
Входное сопротивление такой линии очень велико, и в качестве
изолятора в диапазоне СВЧ она по свойствам превосходит обычный
диэлектрик. Недостатком металлических изоляторов является
возможность использования их только при определенной длине
волны, четверть от которых они составляют.

23.

3.В качестве фильтров колебаний.
Отрезки разомкнутых линий могут использоваться в качестве фильтров.
Длина их делается равной четверти длины той волны
, которую не следует пропускать в нагрузку.
4.В качестве линий задержки.
Длинные линии могут использоваться для задержки импульсов
напряжения на определенное время, что объясняется конечной (хотя и
очень большой) скоростью распространения волн вдоль линии.

24.

Вопрос 3.
Структура электромагнитного поля в волноводе
Для передачи ЭМЭ в сантиметровом диапазоне применяются
волноводы.
Волноводы — полые металлические трубы (обычно
прямоугольного,
реже
круглого
сечения)
для
передачи
электромагнитной энергии, входят в состав РПрУ и РПУ для их связи с
антенной системой.
Волноводы обычно являются наиболее желаемым видом линий
передач для применения на длинах волн короче 10 см. На более
длинных
волнах размеры волноводов
становятся довольно
громоздкими, На волнах короче чем 1 см, малые размеры волновода
так же становятся неудобными.

25.

Различают регулярные и нерегулярные волноводы. Регулярным
называется волновод, имеющий в продольном направлении неизменное
поперечное сечение и электромагнитные свойства заполняющих сред.
Волноводы могут быть однородными и неоднородными.
Волновод называется однородным, если поперечное сечение заполнено
однородной средой.

26.

Прямоугольные волноводы изготовляются обычно в виде
цельнотянутых металлических труб. В качестве материала применяются
немагнитные материалы с хорошей проводимостью — медные,
латунные и алюминиевые. На величину потерь мощности существенное
влияние оказывает качество обработки внутренней поверхности стенок
волновода. Тщательная ее полировка снижает затухание на 15 20%.
Часто внутренняя поверхность волновода покрывается золотом,
серебром, палладием для предотвращения коррозии и сохранения
характеристик волновода на длительный срок. Для снижения
металлоемкости и массы волновода его можно изготавливать из
пластмассы, а внутреннюю поверхность и соединительные фланцы
металлизировать медью, серебром. Для придания гибкости
прямоугольному
волноводу
применяются
гофрированные
прямоугольные секции.

27.

Основные характеристики волноводов:
- характер поля волны;
- спектр типов волн в волноводе;
- мощность, передаваемая по волноводу;
- затухание волны;
- рабочий диапазон волн волновода.
1. Электромагнитные поля
Как показывает теория и практика в волноводах могут
распространяться волны, в которых имеется продольная составляющая
либо электрического, либо магнитного поля. Принято условно
обозначать поперечную составляющую волны символом T и указывать
тип поперечной составляющей - E(H).
• Поперечно-электрические (магнитные) волны, обозначаемые
условно TE (символ T — обозначает поперечные, символ E —
электрические), либо H — волны.
• Поперечно-магнитные (электрические) волны, обозначаемые
условно TM либо E — волны.

28.

2. Спектр типов волн в волноводе.
Прежде чем перейти к данному вопросу поясним возможность
передачи ЭМЭ по волноводу.
Предположим, что имеется согласованная двухпроводная линия,
питающаяся от генератора синусоидального напряжения. В такой линии
возникают бегущие волны, переносящие ЭМЭ. Если подключить к
линии параллельно четвертьволновые короткозамкнутые отрезки режим
бегущих волн не изменится, поскольку входное сопротивление этих
отрезков в точках их подключения к линии бесконечно большое.
Очевидно, что таких изоляторов можно подключить к линии с обеих
сторон сколь угодно много. В конечном счете, они сливаются друг с
другом, образуя трубу прямоугольно сечения, то есть волновод, в
котором распространяется бегущая ЭМВ.

29.

Рис. Образование прямоугольного волновода из
двухпроводной линии

30.

Длина ЭМВ, распространяющейся по волноводу, связана с размером его широкой стенки
соотношением 2a . Если 2 a , такую длину волны колебаний называют критической
длиной волны ( кр ). При условии кр по волноводу будут распространяться
электромагнитные волны. При условии кр волны вдоль волновода не распространяются и
имеет место затухание амплитуды поля вдоль оси волновода.

31.

В волноводах в отличие от двухпроводных и коаксиальных линий (где
распространяются поперечные ЭМВ) могут распространяться волны
двух классов E и H.
К условным обозначениям магнитных H и электрических E волн добавляются индексы
"m" и "n", которые для прямоугольных волноводов показывают число полупериодов поля,
укладывающихся вдоль размеров a и b поперечного сечения. Поэтому волны в волноводах
обозначаются H mn и E mn .
С увеличением индексов m и n критическая длина волны уменьшается.
Тип волны в волноводе, обладающий наибольшей критической длиной
волны, называется низшим или основным типом волн. Остальные типы волн
называются высшими или неосновными.
Из всех типов волн максимальную критическую длину имеет волна H 10 . Значит волна H 10
. является основной волной прямоугольного волновода.

32.

Структуру ЭМП волны любого типа в волноводе удобнее всего представлять путем
построения силовых линий. На рисунке показана структура ЭМП волны H 10 в прямоугольном
волноводе. Волна H 10 — это поперечно-электрическая волна. Электрическое поле имеем в
поперечном сечении, а магнитное поле, как в поперечном, так и в продольном.

33.

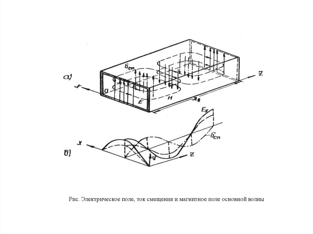
Рис. Электрическое поле, ток смещения и магнитное поле основной волны

34.

Вдоль стороны " a " волновода электрическое поле изменяется по синусоидальному
закону, имеет место одна вариация (индекс m=1) поля. Вдоль OX на отрезке 0-a электрические
силовые линии везде нормальны к плоскости широкой стенки волновода. Густота линий
отражает величину напряженности электрического поля.
Вдоль узкой стенки волновода распределение амплитуды электрического поля
равномерное, при изменении координаты Y поле не изменяется, нет вариаций поля (n=0).

35.

Задание на самостоятельную подготовку:
1. Изучить материал по конспекту.
2. Изучить материал по учебному пособию В.А. Журавлёв, В.С. Озарчук,
М.Э. Поспелов «Основы теории электромагнитных волн в
волноводах», стр.6-26.
English     Русский Правила