Закон электромагнитной индукции
1831 Майкл Фарадей
Закон электромагнитной индукции
Правило Ленца
ЭДС индукции в движущемся проводнике
ВРАЩЕНИЕ РАМКИ С ТОКОМ В МАГНИТНОМ ПОЛЕ
Самоиндукция
Индуктивность соленоида
ЭДС самоиндукции
Ток при размыкании цепи
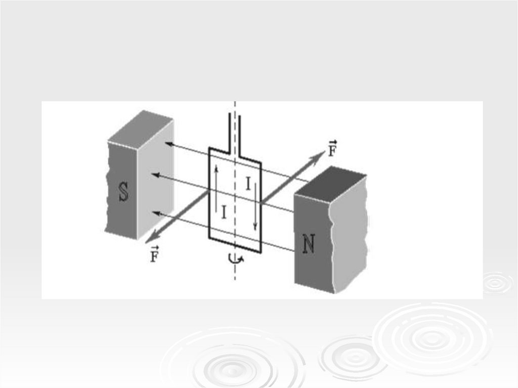
Ток при замыкании цепи
ВЗАИМНАЯ ИНДУКЦИЯ
ПРИМЕР
Взаимная индуктивность двух катушек, намотанных на общий тороидальный сердечник
ТРАНСФОРМАТОРЫ
Вихревые токи – токи Фуко
Индукционные плиты
ПЕРЕДАЧА ЭЛЕКТРОЭНЕРГИИ НА РАССТОЯНИЕ
Условная схема высоковольтной линии передачи.
1.53M
Категория: ФизикаФизика

МАГНИТНОЕ ПОЛЕ лекция 4-2025pptx

1. Закон электромагнитной индукции

2. 1831 Майкл Фарадей

3. Закон электромагнитной индукции

Какова бы ни была
причина изменения
магнитного потока,
охватываемого
замкнутым
проводящим
контуром,
возникающая в
контуре э.д.с.,
определяется
формулой
d
i
dt

4. Правило Ленца

Индукционный ток в контуре всегда имеет
такое направление, что создаваемое им
магнитное поле, препятствует изменению
магнитного потока, вызвавшего этот ток
Следствие закона сохранения энергии

5.

Bi
B
Ii
B

6.

Bi
B
Ii
B

7.

d
i
dt
B S BS cos B , n
3 причины изменения
магнитного потока:
1. Изменение магнитного поля
dB
dt
2. Изменение площади S (деформация
контура или движение проводника с током)
3. Изменение угла между магнитным полем
и нормалью (вращение контура в магнитном
поле)

8. ЭДС индукции в движущемся проводнике

Пусть за время dt
проводник
сместился на
расстояние dx
dx=Vdt
Площадь,
которую пересек
проводник в
магнитном поле
dS dx Vdt

9.

Пересеченный
магнитный поток
d BdS B Vdt
Эдс индукции
d B Vdt
εi
B V
dt
dt

10. ВРАЩЕНИЕ РАМКИ С ТОКОМ В МАГНИТНОМ ПОЛЕ

11.

12.

B
Рамка вращается
в однородном
магнитном
поле B const
с угловой скоростью ω=const
( B S ) B S cos B S cos t
t Угол между нормалью к рамке
и вектором магнитной индукции

13.

При вращении рамки в ней будет
возникать переменная э.д.с. индукции
d
d ( BS cos t )
i
BS
sin
t
dt
dt
sin t 1 , i max BS
i max sin t

14.

При вращении рамки в однородном
магнитном поле в ней возникает
переменная э.д.с., изменяющаяся по
гармоническому закону.
При этом механическая энергия
преобразуется в электрическую –
принцип работы генератора

15. Самоиндукция

Самоиндукция - когда изменяющийся
магнитный поток, вызывающий ЭДС
индукции, создается током в самом контуре.

16.

Собственный магнитный поток Φ,
пронизывающий контур Φ = LI.
Коэффициент пропорциональности L в
этой формуле называется
коэффициентом самоиндукции или
индуктивностью контура.
Единица индуктивности в СИ
называется генри (Гн). 1 Гн = 1 Вб / 1 А.

17. Индуктивность соленоида

N витков, площадь сечения S , длина ℓ.
Магнитное поле соленоида определяется формулой
B = μ0In,
n = N / ℓ.
Магнитный поток, пронизывающий все N витков
соленоида,
Φ = B·S·N = μ0n2Slℓ.
Следовательно, индуктивность соленоида равна
L = μ0n2Sℓ,

18. ЭДС самоиндукции

ЭДС
самоиндукции,
возникающая в
катушке при L= const
ЭДС самоиндукции
прямо
пропорциональна
индуктивности
катушки и скорости
изменения силы
тока в ней.
d
d ( LI )
s
dt
dt
dI
L
dt

19. Ток при размыкании цепи

dI
IR =ε s L
dt
dI
R
dt
I
L
dI
R
I L dt
R
ln I t ln Const
L

20.

I Const e
R
t
L
В момент размыкания цепи t 0
ε
I0
R
I I 0e
R
t
L

21.

I I 0e
постоянная времени цепи
τ
это время, за которое ток в цепи
уменьшится в
раз.
-
e
t
τ

22.

Скорость
ток в цепи
прекращается не
сразу же, а
убывает
постепенно по
экспоненте
убывания тока в
цепи
определяется
постоянной
времени цепи
L
τ
R

23. Ток при замыкании цепи

При замыкании
цепи в контуре
будет
действовать ЭДС
самоиндукции,
пока ток в цепи не
достигнет
постоянного
значения
Установившийся
ток при
замыкании цепи
ε
I0
R

24.

dI R
ε
+ I=
dt L
L
dI
IR =ε ε s ε L
dt
I I 0 1 e
t
τ

25.

26. ВЗАИМНАЯ ИНДУКЦИЯ

27.

2
1
I2
I1
21 L21 I1
12 L12 I 2
d 21
dI1
i2
L21
dt
dt
d 12
dI2
i1
L12
dt
dt

28.

Явление возникновения э.д.с. в одном
из контуров при изменении силы тока в
другом называется взаимной
индукцией
Коэффициенты пропорциональности L12
и L21 называются взаимной
индуктивностью контуров
L12= L21 и зависят от геометрии (форма,
размеры контуров и их взаимное
расположение)

29. ПРИМЕР

Две катушки с разным количеством
витков намотаны на общий
тороидальный сердечник

30.

N1I1
B 0
Магнитная индукция,
создаваемая первой катушкой
ℓ - длина сердечника
по средней линии
N1I1
BS
S
2
0
N2
I1
N1
S
Магнитный поток,
через один виток второй катушки
N1N 2 I1
2 N 2 0
S
Магнитный поток,
через все витки
второй катушки

31. Взаимная индуктивность двух катушек, намотанных на общий тороидальный сердечник

N1N 2
L12 0
S
I1

32. ТРАНСФОРМАТОРЫ

33.

34.

Первичная обмотка подсоединяется к
источнику переменного тока с ЭДС ε1(t),
поэтому в ней возникает переменный
ток I1(t), создающий в сердечнике
трансформатора переменный
магнитный поток Φ.
Изменение этого потока вызывает во
вторичной обмотке появление э.д.с.
взаимной индукции, а в первой обмотке
-э.д.с. самоиндукции

35.

1 s I1R1
R1 – сопротивление
первой обмотки
d
1 ( N1 ) I1R1 I R ,
dt
1 1
1 s
d
d
1 N1
2 N2
dt
dt
знак «–» показывает, что э.д.с. в
N2
и вторичной обмотке
2 1 первичной
противоположны по фазе
N1

36.

Пренебрегая
потерями энергии
можно считать, что
мощности тока в
обеих обмотках
трансформатора
одинаковы
2 I 2 1I1
2 I1
1 I 2

37.

N2
N1
- коэффициент трансформации,
показывает во сколько раз различаются э.д.с.
в первичной и вторичной обмотках
N2
-повышающий трансформатор
1 (повышающий э.д.с. и понижающий ток)
N1
N2
-понижающий трансформатор
1 (повышающий ток и понижающий э.д.с.)
N1

38. Вихревые токи – токи Фуко

39. Индукционные плиты

40. ПЕРЕДАЧА ЭЛЕКТРОЭНЕРГИИ НА РАССТОЯНИЕ

Мощные трехфазные трансформаторы
используются в линиях передач
электроэнергии на большие расстояния.
Передача электрической энергии от
электростанций до больших городов или
промышленных центров на расстояния тысяч
километров является сложной научнотехнической проблемой

41.

Для уменьшения потерь на нагревания
проводов необходимо уменьшить силу
тока в линии передачи, и,
следовательно, увеличить напряжение.
Обычно линии электропередачи
строятся в расчете на напряжение 400–
500 кВ, при этом в линиях используется
трехфазный ток частотой 50 Гц.

42. Условная схема высоковольтной линии передачи.

English     Русский Правила