Бортовые устройства регистрации
Содержание
1 ОБЩИЕ СВЕДЕНИЯ 1.1 Назначение
1.2 Состав БУР
1.3 Размещение
1.4 Работа системы
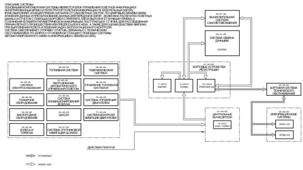
2 ОПИСАНИЕ КОМПОНЕНТОВ СИСТЕМЫ 2.1 Системы регистрации параметрической информации
Внешний вид блока сбора и преобразования параметрической информации
2.2 Печатающего устройства
2.3 Cистемы регистрации отказов
3 ОСОБЕННОСТИ ТЕХНИЧЕСКОЙ ЭКСПЛУАТАЦИИ 3.1 Включение и выключение
3.2 Контроль и проверка работоспособности
3.3 Перечень регламентных работ
3.4 Методика поиска и устранения неисправностей
Замена блока сбора и преобразования параметрической информации
3.5 Заполнение бортового журнала
4 Контроль знаний
Ответы
0.96M

Авионика 9

1. Бортовые устройства регистрации

2. Содержание

1 ОБЩИЕ СВЕДЕНИЯ
1.1 Назначение
1.2 Структура
1.3 Размещение
1.4 Работа системы
2 ОПИСАНИЕ КОМПОНЕНТОВ СИСТЕМЫ
2.1 Системы регистрации параметрической информации
2.2 Печатающего устройства
2.3 Cистемы регистрации отказов
3 ОСОБЕННОСТИ ТЕХНИЧЕСКОЙ ЭКСПЛУАТАЦИИ
3.1 Включение и выключение
3.2 Контроль и проверка работоспособности
3.3 Перечень регламентных работ
3.4 Методика поиска и устранения неисправностей
3.4.1 Перечень неисправностей
3.4.2 Процедура поиска и устранения неисправностей
3.5 Заполнение бортового журнала
4 КОНТРОЛЬ ЗНАНИЙ

3. 1 ОБЩИЕ СВЕДЕНИЯ 1.1 Назначение

Бортовые устройства регистрации предназначены для:
— сбора, преобразования, регистрации и сохранения
параметрической информации, используемой для расследования
причин лётного происшествия или предпосылок к нему;
— сбора, преобразования и регистрации информации,
используемой для оценки действий экипажа при выполнении полёта;
— воспроизведения печатных копий текста и графики.

4. 1.2 Состав БУР

Бортовые устройства регистрации состоят из:
Системы регистрации параметрической информации (IFDMU Integrated Flight Data Management Unit);
Печатающего устройства;
Cистемы регистрации отказов.

5. 1.3 Размещение

- Система регистрации отказов
располагается в заднем техническом
отсеке (52-54 шп.) зона 311 Люк (панель)
доступа 835.
- Блок сбора и преобразования
параметрической информации
располагается в техническом отсеке
авионики (12-13 шп.) зона 117 Люк
(панель) доступа 815.
- Полноформатный принтер расположен на
центральном пульте пилотов зона

6. 1.4 Работа системы

Управление системой контроля состояния самолёта осуществляется с
помощью IFDMU. Данные от различных систем поступают в IFDMU по
шинам ARINC429. На основе полученных данных IFDMU генерирует
различные отчеты, при этом часть данных IFDMU сохраняет в памяти, часть
данных передается на землю в виде различных отчетов с помощью
системы ACARS.
С помощью IFDMU данные записываются на SSFDR со скоростью 1024
разрядов в секунду.

7.

8. 2 ОПИСАНИЕ КОМПОНЕНТОВ СИСТЕМЫ 2.1 Системы регистрации параметрической информации

Основные функции системы:
— запись данных, необходимых при расследовании причин аварийных ситуаций или инцидентов, а
также при оценке качества пилотирования;
Основными компонентами системы являются:
— блок сбора и преобразования параметрической информации (IFDMU);
— регистратор параметрической информации (FDR).
Основное назначение IFDMU
— приём, преобразование информации в определённый формат данных (в соответствии с ARINC 717)
и передача для хранения в FDR. Другое назначение IFDMU
— хранение данных в эксплуатационной карте памяти, идентичных по составу с данными FDR.
Регистратор параметрической информации (FDR) предназначен для записи и хранения
параметрической информации, необходимой для расследования лётных происшествий.
FDR может находиться в одном из программируемых состояний:
— инициализация,
— регистрация (запись),
— отключение,
— извлечение данных.
Наибольшее время FDR находится в состоянии записи.

9. Внешний вид блока сбора и преобразования параметрической информации

10. 2.2 Печатающего устройства

Назначение
Принтер позволяет распечатывать отчеты Централизованной Системы
Индикации Неисправностей (CFDS), а также дополнительные отчеты.
Дополнительные отчеты исходят от:
- бортовая Комплексная Система Регистрации Данных (AIDS),
- блок Обслуживания Воздушного Движения (ATSU),
- управление Полетом и Система Наведения (FMGS),
- блок Контроля Вибрации Двигателя (EVMU).

11. 2.3 Cистемы регистрации отказов

Система регистрации отказов предназначена для регистрации и хранения параметрической информации о
работе систем.
Система регистрации отказов включает в себя бортовой твёрдотельный накопитель параметрической информации
ТН2ПКМ в который по шинам ARINC 429 поступает информация об отказах систем самолёта.
ТН2ПКМ подключен к шинам ARINC 429 через колодки размножения без нарушения целостности кабельной сети
самолёта. ТН2ПКМ может принимать до 64 потоков цифрового последовательного кода по ARINC 429.
Накопитель выполняет запись параметров следующих систем самолёта:
— основная тормозная система (32-41-00),
— пожарное оборудование (26-00-00),
— система кондиционирования воздуха (21-00-00),
— топливная система (28-00-00),
— противообледенительная система (30-00-00),
— пневматическая система (36-00-00),
— блок-концентратор данных (31-43-00),
— система контроля пультов управления (31-16-00),
— система управления самолётом (27-00-00),
— силовая установка (71-00-00),
— система контроля вибрации (77-30-00).
Бортовой твёрдотельный накопитель параметрической информации (ТН2ПКМ) ТН2ПКМ представляет собой блок,
состоящий из съёмной кассеты ТН2ПК.200 и бортового кожуха ТН2ПК.100.

12. 3 ОСОБЕННОСТИ ТЕХНИЧЕСКОЙ ЭКСПЛУАТАЦИИ 3.1 Включение и выключение

Включение системы в автоматическом режиме происходит после
запуска одного из двигателей. Включение системы в ручном режиме
осуществляется нажатием и удержанием не менее 3-х секунд кнопки
GND CTRL.
Выключение происходит через 5 минут после остановки двигателей.

13. 3.2 Контроль и проверка работоспособности

14. 3.3 Перечень регламентных работ

15. 3.4 Методика поиска и устранения неисправностей

16. Замена блока сбора и преобразования параметрической информации

17. 3.5 Заполнение бортового журнала

18. 4 Контроль знаний

1. В систему бортовых устройств регистрации (БУР) самолета RRJ-95 не входят:
А)Системы регистрации параметрической информации
Б)Печатающего устройства;
В)Cистемы регистрации отказов.
Г) Система навигации
2.Система регистрации отказов RRJ-95 расположен в районе:
А) 52-54 шпангоутов
Б) 50-52 шпангоутов
В) 12-13 шпангоутов
Г) кабины пилотов
3. Данные от различных систем самолета RRJ-95 поступают в IFDMU по шинам:
А) ARINC 425
Б) ARINC 424
В) ARINC 629
Г) ARINC 429

19.

4. В Каком состоянии FDR находится наибольшее время
А)инициализация,
Б)регистрация (запись),
В)отключение
Г)извлечение данных.
5)Запись данных с блок сбора и преобразования параметрической информации на
твердотельный регистратор полетных данных самолета RRJ-95 производится со
скоростью:
А) 256 разрядов в секунду
Б) 512 разрядов в секунду
В) 1024 разрядов в секунду
Г) 2048 разрядов в секунду
6. Выключение в автоматическом режиме системы бортовых устройств регистрации
(БУР) самолета RRJ-95 производится:
А) после выключения питания
Б) сразу после остановки двигателя
В) через 5 минут после остановки двигателя
Г) через 10 минут после остановки двигателя

20.

7.Где расположен принтер в самолёте RRJ-95:
А) на центральном пульте пилотов
Б) на бортовом пульте
В) на боковой консоли
Г) на пульте инспектора
8. С каких систем накопитель не выполняет запись параметров
А)топливная система
Б)пожарное оборудование
В)противообледенительная система
Г) Система водоснабжения и удаления отбросов
9.Где располагается блок сбора и преобразования параметрической
информации
А) 52-54 шпангоутов
Б) 50-52 шпангоутов
В) 12-13 шпангоутов
Г) кабины пилотов

21. Ответы

1.Г
2.А
3.Г
4.Б
5.В
6.В
7.А
8.Г
9.В
English     Русский Правила