Среднесуточное количество автомобилей Nа от поставщиков
Продолжительность выгрузки среднесуточного количества автомобилей Тв
Количество ворот (докшёлтеров)
Перегрузочная система склада
Доклевеллер
Перегрузочные тамбуры
Подъемный стол
Перерабатывающая способность грузового фронта, ограничиваемая мощностью средств механизации
Перерабатывающая способность, ограничиваемая площадью склада
Потребная длина погрузочно-разгрузочного фронта
5.17M

Определение размеров складов

1.

ОПРЕДЕЛЕНИЕ
РАЗМЕРОВ
СКЛАДОВ

2.

п
п
Q
к
н
гi
n
Qci
;
Тп
о
о
Q кн
гi
о
Q
ci
То

3.

кн 1 (Q)

4.

( Q )
(Q)
m (Q)

5.

Т п (о) = Тк - Тв -Тпр

6.

п
Г0 =Qci + Qci
o

7.

n
Г Qгiк
i
1

8.

9.

n
Ескл к Q Т ,
скi сi хрi
1
n
365
Å
ê
Q
,
ñêë
ñêi
ñi
1
çi

10.

Fобщ = f пол + fпр +fот + fсл + fоб + fвсп

11.

Метод удельных нагрузок

12.

f пол
Есклi
σ

13.

f
F
îáù
ïîë
k
f

14.

Cредние нагрузки и коэффициенты использования площади складов
Наименование склада
Средняя нагрузка на
полезную площадь при высоте укладки, в м, т/м2
Металла
2
3
4
5,5
Среднего и мелкого литья
2,5
Центральный материальный
0,6
Коэффициент
использования
площади
6
8
0,25…0,4
4
6
0,3…0,4
1
1,
0,25…0,4
5
Масел и химикатов
0,5
1

0,3…0,4
Стройматериалов
1,2
2

0,45…0,55
Лесоматериалов
0,7
1,2

0,35…0,45
Металлоотходов
0,9
1,8

0,4…0,6
Сжатых газов
0,8


0,3…0,45
Жидкого топлива
0,3


0,35…0,4
Твердого топлива
1,2
2,3
3,
0,5…0,6
6

15.

Метод коэффициента заполнения
объема

16.

V
1
k
v V
об

17.

18.

qo6=Vоб kv

19.

qo6= lbh kv

20.

n = Ескл / qo6

21.

fполi = lbn = fобn

22.

fпол = fполi

23.

Метод элементарных площадок

24.

Ескл = nэп Еэп

25.

26.

Требуемое число элементарных площадок получают как
частное:
nэп= Ескл / Еэп .
А длина складского здания составит:
L= nэпLэп
.

27.

f пол = 2nэпВшLш.

28.

Метод масштабной технологической
компоновки

29.

F
х
Е
к
к к
скл н р к
к к n h
v f я п

30.

Планировка
складов

31.

Необходимая величина приемочной
(и отпускной) площадки
fпр = QсрТпр / qH

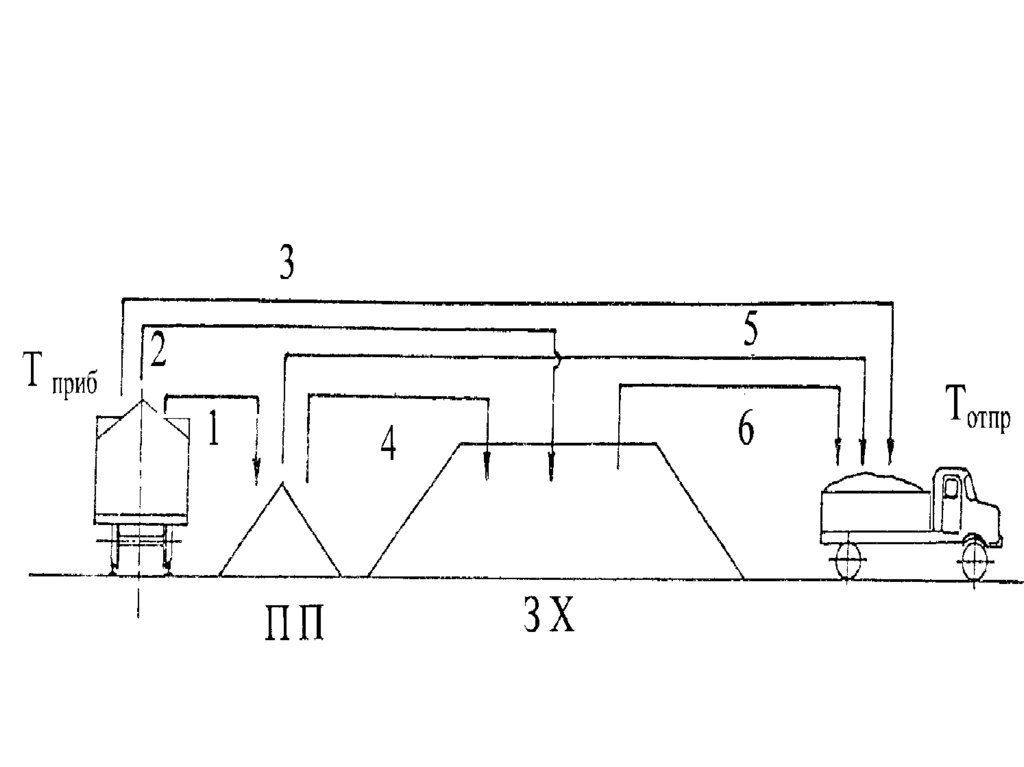
32. Среднесуточное количество автомобилей Nа от поставщиков


п
г
Q кр
к рд qа
,

33. Продолжительность выгрузки среднесуточного количества автомобилей Тв

N а t а кнп
Тв
,
кп

34. Количество ворот (докшёлтеров)

Тв

.
t оп

35. Перегрузочная система склада

36. Доклевеллер

37. Перегрузочные тамбуры

38. Подъемный стол

39. Перерабатывающая способность грузового фронта, ограничиваемая мощностью средств механизации

TN тр q гр
Q
;
ф (t пв t м )z
TN тр

(t пв t м )z

40.

Tc t n
Т
1
ф
n
(1 К г ) t отк
ρ
,
ф
t пв t м

41. Перерабатывающая способность, ограничиваемая площадью склада

F σα
общ
Q
;
ф Т (1 к)
хр
,
Fобщσα
N
ф T q (1 к)
хр гр

42. Потребная длина погрузочно-разгрузочного фронта

N тр Qгiк н /365qгр
L
L
грж
гра
Ν
/zz а ,
тр тр c
м
l
N тр lа t а /Tа
English     Русский Правила